来源 :证券之星2023-06-12
根据6月12日市场公开信息、上市公司公告及交易所披露数据整理,电魂网络(603258)最新董监高及相关人员股份变动情况:2023年6月9日公司董事陈芳共减持公司股份15.0万股,占公司总股本为0.0613%。变动期间公司股价上涨9.99%,6月9日当日收盘报49.42元。
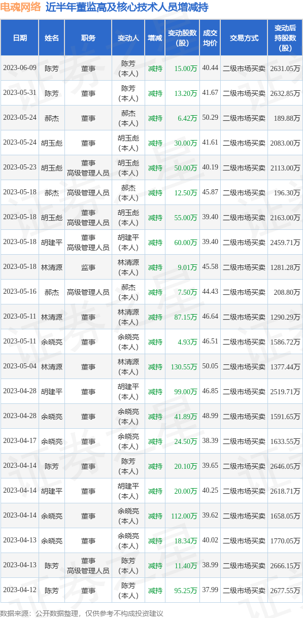
电魂网络近半年内的董监高及核心技术人员增减持详情如下:
电魂网络的高管列表及最新持股情况如下:
该股最近90天内共有10家机构给出评级,买入评级5家,增持评级5家;过去90天内机构目标均价为43.69。根据近五年财报数据,证券之星估值分析工具显示,电魂网络(603258)行业内竞争力的护城河良好,盈利能力一般,营收成长性良好。财务健康。该股好公司指标3星,好价格指标2.5星,综合指标2.5星。(指标仅供参考,指标范围:0 ~ 5星,最高5星)