
合盛硅业(603260)8月30日披露2024年半年报。2024年上半年,公司实现营业总收入132.72亿元,同比增长11.18%;归母净利润9.78亿元,同比下降45.12%;扣非净利润8.99亿元,同比下降43.54%;经营活动产生的现金流量净额为1.69亿元,上年同期为-17.88亿元;报告期内,合盛硅业基本每股收益为0.83元,加权平均净资产收益率为3.00%。


以8月29日收盘价计算,合盛硅业目前市盈率(TTM)约为31.07倍,市净率(LF)约为1.71倍,市销率(TTM)约为2.02倍。
公司近年市盈率(TTM)、市净率(LF)、市销率(TTM)历史分位图如下所示:


根据半年报,公司第二季度实现营业总收入78.56亿元,同比增长26.53%,环比增长45.05%;归母净利润4.5亿元,同比下降42.25%,环比下降14.71%;扣非净利润3.79亿元,同比下降39.99%,环比下降26.99%。
半年报称,公司主要从事工业硅、有机硅及多晶硅等硅基新材料产品的研发、生产及销售,是我国硅基新材料行业中业务链最完整、生产规模最大的企业之一。
2024年上半年,公司毛利率为23.30%,同比下降3.35个百分点;净利率为7.18%,较上年同期下降7.63个百分点。从单季度指标来看,2024年第二季度公司毛利率为23.56%,同比上升0.96个百分点,环比上升0.65个百分点;净利率为5.52%,较上年同期下降6.92个百分点,较上一季度下降4.08个百分点。
数据显示,2024年上半年公司加权平均净资产收益率为3.00%,较上年同期下降2.83个百分点;公司2024年上半年投入资本回报率为1.87%,较上年同期下降2.02个百分点。
2024年上半年,公司经营活动现金流净额为1.69亿元,同比增加19.57亿元;筹资活动现金流净额15.14亿元,同比减少137.13亿元;投资活动现金流净额-19.13亿元,上年同期为-97.56亿元。
进一步统计发现,2024年上半年公司自由现金流为-7.58亿元,上年同期为-81.14亿元。
2024年上半年,公司营业收入现金比为87.09%,净现比为17.25%。
营运能力方面,2024年上半年,公司总资产周转率为0.16次,上年同期为0.19次(2023年上半年行业平均值为0.30次,公司位居同行业9/10);固定资产周转率为0.52次,上年同期为0.63次(2023年上半年行业平均值为1.44次,公司位居同行业10/10);公司应收账款周转率、存货周转率分别为10.34次、1.22次。
2024年上半年,公司期间费用为10.77亿元,较上年同期增加1.69亿元;期间费用率为8.12%,较上年同期上升0.51个百分点。其中,销售费用同比增长28.66%,管理费用同比增长52.0%,研发费用同比下降19.05%,财务费用同比增长44.74%。
资料显示,管理费用的变动主要因为公司规模扩张,相应人员增加,各项费用增加;财务费用的变动主要因为本期新增借款导致利息费用增加。
资产重大变化方面,截至2024年上半年末,公司固定资产较上年末增加26.62%,占公司总资产比重上升5.39个百分点;在建工程较上年末减少3.77%,占公司总资产比重下降4.01个百分点;存货较上年末增加34.18%,占公司总资产比重上升2.33个百分点;其他非流动资产较上年末减少36.35%,占公司总资产比重下降1.69个百分点。
负债重大变化方面,截至2024年上半年末,公司一年内到期的非流动负债较上年末增加416.62%,占公司总资产比重上升6.88个百分点;长期借款较上年末减少16.11%,占公司总资产比重下降5.77个百分点;短期借款较上年末减少26.95%,占公司总资产比重下降2.62个百分点;应付账款较上年末增加9.67%,占公司总资产比重上升0.66个百分点。
从存货变动来看,截至2024年上半年末,公司存货账面价值为95.91亿元,占净资产的29.08%,较上年末增加24.43亿元。其中,存货跌价准备为5.66亿元,计提比例为5.57%。
在偿债能力方面,公司2024年上半年末资产负债率为62.48%,相比上年末上升1.38个百分点;有息资产负债率为37.00%,相比上年末下降1.51个百分点。
2024年上半年,公司流动比率为0.47,速动比率为0.17。
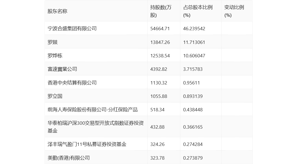
半年报显示,2024年上半年末公司十大流通股东中,新进股东为前海人寿保险股份有限公司-分红保险产品,取代了一季度末的阿巴马万象芳华1号私募证券投资基金。在具体持股比例上,华泰柏瑞沪深300交易型开放式指数证券投资基金持股有所上升,香港中央结算有限公司持股有所下降。
值得注意的是,根据半年报数据,合盛硅业37.36%股份处于质押状态。其中,第一大股东宁波合盛集团有限公司质押2.55亿股公司股份,占其全部持股的46.71%。
筹码集中度方面,截至2024年上半年末,公司股东总户数为4.67万户,较一季度末下降了2735户,降幅5.53%;户均持股市值由一季度末的117.74万元上升至118.20万元,增幅为0.39%。
指标注解:
市盈率
=总市值/净利润。当公司亏损时市盈率为负,此时用市盈率估值没有实际意义,往往用市净率或市销率做参考。
市净率
=总市值/净资产。市净率估值法多用于盈利波动较大而净资产相对稳定的公司。
市销率
=总市值/营业收入。市销率估值法通常用于亏损或微利的成长型公司。
文中市盈率和市销率采用TTM方式,即以截至最近一期财报(含预报)12个月的数据计算。市净率采用LF方式,即以最近一期财报数据计算。
市盈率为负时,不显示当期分位数,会导致折线图中断。