近日,超讯通信(603322)公告称,控股股东梁建华与上海九益投资管理有限公司(代表九益复合策略2号私募证券投资基金)签署了《股份转让协议》,约定梁建华先生拟以协议转让方式将其持有的公司1000万股股份(占公司总股本的6.35%)以每股24.30元的价格转让给上海九益投资管理有限公司,转让价款总额为人民币2.43亿元。
超讯通信的供应商与公司多位高层管理人员之间存在资金流动,多名员工与部分高层管理人员在供应商处持有股份或担任职务。然而,值得注意的是,相关供应商并未被公司明确认定为关联方进行交易处理。直至本次减持之前,超讯通信方将总计高达22,674.61万元的交易资金认定为关联交易。
不减持承诺期限届满不久,控股股东减持超6%
此次减持,公司控股股东、实际控制人梁建华原本是与自然人岳颋签署的《股份转让协议》,计划通过协议转让方式将其所持有的公司股份1000万股(占公司总股本的6.35%)以25.84元/股的价格转让给岳颋。
然而,一周过去后,该笔交易被取消。超讯通信控股股东变更了协议转让对象与上海九益投资管理有限公司(代表九益复合策略2号私募证券投资基金)签署了《股份转让协议》,数量仍为1,000万股,只不过转让价格由25.84元/股下降至24.30元/股。
根据公开资料显示,超讯通信控股股东梁建华持有4228.5万股,占总股本比例达到26.83%。按照协议减持后,梁建华的持股比例将下降20.48%,合计套现2.43亿元。

值得关注的是,超讯通信于2023年5月30日发布公告称,收到控股股东、实际控制人梁建华向公司提交的《关于不减持公司股份的承诺函》,梁建华基于对公司所处行业的认可,以及未来发展的信心和价值的认同,本着对社会公众股东负责的态度,自愿承诺未来12个月内不减持持有的公司股份。目前,不减持承诺到期届满不到两个月。
去年八月,针对上市公司大股东在二级市场的减持行为,减持新规的出台宛如一道"紧箍咒",旨在加强对市场的监管。监管部门从公司股价是否跌破净资产、跌破发行价以及分红情况这三个关键指标出发,对减持行为设定了严格的限制。同时,这也使得协议转让等非集中竞价及大宗交易的股份处置方式受到了市场的广泛关注。
根据资料显示,此次接盘方九益复合策略2号私募证券投资基金计划,二季度的存续规模低于1000万元人民币。此次斥资2.43亿元,接手超讯通信控股股东的股份的资金来源值得关注。

对于相关减持行为是否违反相关规定以及九益投资是否有潜在关联,超讯通信回复表示:“控股股东协议转让方变更是其自身决策行为,其是基于协议转让各方友好合作协商确定,岳颋与公司供应商没有关联关系,公司与受让方九益投资没有关联关系,协议转让没有违反相关减持规定的情况。”
关联交易疑云,向员工任职企业累计采购超19亿
在此次减持之前,超讯通信刚对关联交易进行追认,涉及交易金额高达2.27亿元,交易发生时间为2022年12月22日至2024年5月26日期间。关联交易对象为江苏盈讯信息技术有限公司(以下简称“江苏盈讯”),采购内容为通信网络建设、维护等服务。
公告显示,公司现任董事周威曾为江苏盈讯大股东(持股80%)和执行董事,其于2023年5月退出江苏盈讯。2023年12月,公司董事会换届选举,周威被选举为新一届董事,任职期间2023年12月22日起至2026年12月22日止。

值得关注的是,董事周威与江苏盈讯之间的资金流动情况已经得到确认。根据详细资料显示,周威个人向供应商所借款项累计流水金额达到人民币426万元,且这些借款均为无息性质。同时,在借款偿还过程中,存在公司员工杨宁代替周威向供应商归还借款的情况。
对于杨宁为何替周威还款,超讯通信回复表示:“周威和杨宁是公司员工,其双方作为好友,借款往来不属于公司管控范畴。”
除此之外,公司董事、总经理钟海辉也存在向供应商借还款。资料显示,钟海辉向供应商江西乒乓科技有限公司、南宁晟鑫达通信有限公司发生资金往来,累计流水金额为290万元。
根据2023年报披露显示,公司前五大供应商采购金额为7.27亿元,占年度采购总额的 39.25%。公司多名员工曾为公司通信技术服务业务供应商的股东或员工,涉及供应商共10家,其中江苏盈讯等5家公司均曾名列公司近三年前五大供应商。

值得关注的是,相关供应商注册资本普遍较低,与公司交易规模不匹配,同时交社保人员也远低于人员配备。例如,公司2021年至2023年对江苏盈讯累计采购额为3.41亿元,但其注册资本仅为1000万元且实缴金额为0,2023年底购买社保员工人数为0,人员配备达到317人。对广东泓壹科技有限公司(以下简称“广东泓壹”)2020年以来累计采购3.92亿,注册资本仅为500万元,购买社保人数仅为15人,人员配备达到162人。
对于社保人数缴纳问题,超讯通信在回复中表示:“江苏盈讯因为注册地址在盐城东台弶港镇,只可以在东台购买社保,员工都希望能在自己所在地购买社保,以解决就医、买房等需求,因此采用派遣方式由劳务公司购买,还有一部分项目采用灵活用工的方式,保险也在当地解决。”
这些供应商普遍存在公司员工任职的情况,除了江苏盈讯之外。超讯通信的广东分公司副总经理余富营,以及广东分公司采购总监洪翠平,均在广东泓壹科技有限公司担任重要职务,分别为监事和总经理。广西分公司总经理助理谢东、广西分公司总经理霍华在南宁晟鑫达通信有限公司担任要职。
值得关注的是,根据公告的统计显示,总共有13家供应商存在超讯通信员工任职的情况。2020-2023年,超讯通信向这些供应商累计采购的金额达到了19.21亿元。目前被认定的关联交易金额仅达2.27亿元
针对员工任职的供应商价格是否公正合理,超讯通信在选取价格时进行了有选择性比较。公司将相关采购商细分为网络维护业务、网络建设业务以及通信综合业务支撑服务业务三大类别进行比较分析。
在网络建设业务方面,超讯通信仅选取了四家同类供应商,同类供应商的占比不足劳务外协的比例6%。超讯通信回复表示:“公司选取了四家网络建设业务同类供应商进行采购单价对比,此四家供应商2023 年与公司产生的发生额占 2023 年通服业务劳务外协的比例约 5.54%,选取的对比量占比较小的原因是通信工程全国集中采购的专业主要分为传输管线、设备安装两大专业,公司仅中标了 3 省份的设备安装项目,其余专业主要由各省、各地市单独来组织采购,各省份专业细分差异大,工作内容不一致,导致很难找出较多的同类项目来进行多家供应商的单价比较。”
重要客户与供应商受同一方控制
除了员工在供应商中任职外,超讯通信还存在主要客户、供应商存在受同一方控制、董监高交叉任职情形。
超讯通信的前五大客户之一的深圳高锐电子科技有限公司2023年的销售为1.66亿,占年度销售总额的6.79%。该客户与供应商甘肃巨门云计算有限公司、甘肃高瑞科技有限公司、深圳巨门云计算有限公司、甘肃巨门科技有限公司曾经存在核心人员交叉任职的情况。
值得关注的是,这些交叉供应商中超讯通信对其预付款也较高。2023年报披露,公司预付账款期末余额为5.04亿元,同比增长764.70%;前五大支付对象中,甘肃巨门云计算有限公司、甘肃高瑞科技有限公司、深圳巨门云计算有限公司的预付金额合计为1.85亿元,占预付款比重36.71%。

公开信息显示,甘肃巨门云计算有限公司、甘肃高瑞科技有限公司、深圳巨门云计算有限公司均由王星控制。同时,王星担任超讯通信第二大客户深圳高锐电子科技有限公司(以下简称“高锐电子”)总经理。此外,宁颖、杨烁二人也曾在上述客户、供应商处先后担任董监高。
根据超讯通信回复显示,2022年9月,深圳市巨门科技集团有限公司(简称“巨门集团”)将其持有的高锐电子97%股权转让给High Sharp Electronic Limited。巨门集团股权转让完成后,王星本人退出高锐电子经营管理,并不再担任高锐电子任何职务。而宁颖、杨烁二人则表示任职期间未实际参与经营。

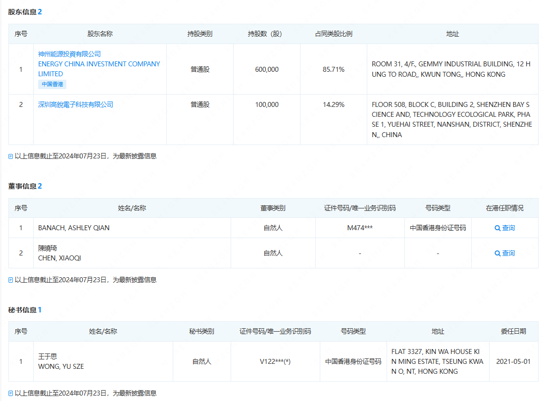
根据公开资料显示,High Sharp Electronic Limited背后股东高锐电子与神州能源投资有限公司,两者持股比例分别为14.29%与85.71%。这意味着High Sharp Electronic Limited与高锐电子存在交叉持股情况。同时,神州能源投资有限公司穿刺后其背后董事、与秘书均有王于思、BANACH, ASHLEY QIAN两人。
对于上述相关方,超讯通信在监管函回复中表示:“公司、公司控股股东以及其他关联方与公司的客户、供应商及其核心人员之间不存在未披露的业务、资金往来、人员交叉任职或其他利益安排,客户、供应商的生产经营或与公司具体业务的开展均具有商业实质,不存在由公司、公司控股股东以及其他关联方、公司员工等密切联系人实际控制、主导或施加重大影响的情况。”