中证智能财讯神马电力(603530)8月28日披露2024年半年度报告。2024年上半年,公司实现营业收入5.51亿元,同比增长32.67%;归母净利润1.41亿元,同比增长177.52%;扣非净利润1.38亿元,同比增长192.26%;经营活动产生的现金流量净额为1175.05万元,上年同期为-998.41万元;报告期内,神马电力基本每股收益为0.33元,加权平均净资产收益率为8.62%。
公告称,公司营业收入变化主要由于国内重点工程项目收入增加。

以8月27日收盘价计算,神马电力目前市盈率(TTM)约为33.92倍,市净率(LF)约为5.27倍,市销率(TTM)约为7.7倍。
公司近年市盈率(TTM)、市净率(LF)、市销率(TTM)历史分位图如下所示:


根据半年报,公司第二季度实现营业总收入3.2亿元,同比增长44.78%,环比增长38.58%;归母净利润7735.44万元,同比增长114.83%,环比增长21.36%;扣非净利润7619.86万元,同比增长121.12%,环比增长22.78%。
资料显示,公司主要从事电力系统外绝缘系列产品的研发、生产与销售。
2024年上半年,公司毛利率为47.28%,同比上升12.74个百分点;净利率为25.58%,较上年同期上升13.35个百分点。从单季度指标来看,2024年第二季度公司毛利率为46.50%,同比上升8.36个百分点,环比下降1.87个百分点;净利率为24.15%,较上年同期上升7.88个百分点,较上一季度下降3.42个百分点。
数据显示,2024年上半年公司加权平均净资产收益率为8.62%,较上年同期增长5.46个百分点;公司2024年上半年投入资本回报率为8.50%,较上年同期增长5.78个百分点。
2024年上半年,公司经营活动现金流净额为1175.05万元,同比增加2173.45万元;筹资活动现金流净额-4028.28万元,同比增加8132.33万元;投资活动现金流净额-2.44亿元,上年同期为2568.92万元。
进一步统计发现,2024年上半年公司自由现金流为-7567.38万元,上年同期为2181.14万元。
2024年上半年,公司营业收入现金比为72.13%,净现比为8.33%。
营运能力方面,2024年上半年,公司公司总资产周转率为0.27次,上年同期为0.21次(2023年上半年行业平均值为0.49次,公司位居同行业32/37);固定资产周转率为0.91次,上年同期为0.75次(2023年上半年行业平均值为3.97次,公司位居同行业35/37);公司应收账款周转率、存货周转率分别为1.24次、1.27次。
2024年上半年,公司期间费用为8842.87万元,较上年同期增加976.20万元;但期间费用率为16.03%,较上年同期下降2.90个百分点。其中,销售费用同比下降10.11%,管理费用同比增长3.34%,研发费用同比下降4.65%,财务费用由去年同期的-1887.83万元变为-564.07万元。
资料显示,财务费用的变动主要因为汇兑收益及利息收入减少。
资产重大变化方面,截至2024年上半年末,公司货币资金较上年末减少66.32%,占公司总资产比重下降13.59个百分点;交易性金融资产较上年末增加642.19%,占公司总资产比重上升10.43个百分点;应收账款较上年末增加19.12%,占公司总资产比重上升3.32个百分点;存货较上年末增加12.53%,占公司总资产比重上升1.08个百分点。
负债重大变化方面,截至2024年上半年末,公司其他应付款(含利息和股利)较上年末增加188.71%,占公司总资产比重上升6.95个百分点;应付票据较上年末减少87.49%,占公司总资产比重下降3.43个百分点;应付账款较上年末增加24.27%,占公司总资产比重上升1.04个百分点;应付职工薪酬较上年末减少16.45%,占公司总资产比重下降0.29个百分点。
从存货变动来看,截至2024年上半年末,公司存货账面价值为2.43亿元,占净资产的15.17%,较上年末增加2703.75万元。其中,存货跌价准备为710.12万元,计提比例为2.84%。
在偿债能力方面,公司2024年上半年末资产负债率为22.57%,相比上年末上升4.00个百分点;有息资产负债率为0,相比上年末基本持平。
2024年上半年,公司流动比率为3.00,速动比率为2.41。
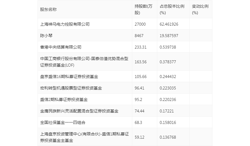
半年报显示,2024年上半年末公司十大流通股东中,新进股东为中国工商银行股份有限公司-国泰估值优势混合型证券投资基金(LOF)、盘京盛信16期私募证券投资基金、宏利转型机遇股票型证券投资基金、盛信2期私募证券投资基金、全国社保基金一一四组合、上海盘京投资管理中心(有限合伙)-盛信1期私募证券投资基金主基金,取代了一季度末的江苏神马电力股份有限公司回购专用证券账户、铭深彤鹤私募证券投资基金、余建国、中信证券股份有限公司、仙人掌盈沣飞扬二号私募证券投资基金、南方大数据100指数证券投资基金。在具体持股比例上,香港中央结算有限公司持股有所上升。
值得注意的是,根据半年报数据,神马电力25.39%股份处于质押状态。其中,第一大股东上海神马电力控股有限公司质押6454.00万股公司股份,占其全部持股的23.90%。
筹码集中度方面,截至2024年上半年末,公司股东总户数为1.91万户,较一季度末增长了545户,增幅2.94%;户均持股市值由一季度末的43.55万元上升至59.94万元,增幅为37.63%。
指标注解:
市盈率
=总市值/净利润。当公司亏损时市盈率为负,此时用市盈率估值没有实际意义,往往用市净率或市销率做参考。
市净率
=总市值/净资产。市净率估值法多用于盈利波动较大而净资产相对稳定的公司。
市销率
=总市值/营业收入。市销率估值法通常用于亏损或微利的成长型公司。
文中市盈率和市销率采用TTM方式,即以截至最近一期财报(含预报)12个月的数据计算。市净率采用LF方式,即以最近一期财报数据计算。
市盈率为负时,不显示当期分位数,会导致折线图中断。