作为中国最大的民族涂料企业,三棵树近期在全国各地投资设立了10家电子商务和家居公司,究竟传递出哪些鲜明的信号?

涂界记者2月28日获悉,三棵树今年2月份密集投资设立了9家电子商务公司。根据显示,甘肃三棵树电子商务有限公司注册成立于2025年2月25日,这是最新成立的一家电子商务公司,注册资本200万人民币,法定代表人刘清国。股东为福建三棵树建筑材料有限公司、福建三棵树电子商务有限公司,持股比例分别为70%、30%。
甘肃三棵树电子商务公司经营范围包括一般项目:互联网销售(除销售需要许可的商品);涂料销售(不含危险化学品);技术服务、技术开发、技术咨询、技术交流、技术转让、技术推广;隔热和隔音材料销售;建筑防水卷材产品销售;建筑材料销售;建筑物清洁服务;广告设计、代理;专业保洁、清洗、消毒服务;普通货物仓储服务(不含危险化学品等需许可审批的项目)(除许可业务外,可自主依法经营法律法规非禁止或限制的项目)

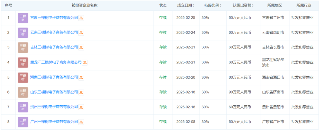
涂界记者注意到,三棵树旗下全资子公司福建三棵树建筑材料有限公司、福建三棵树电子商务有限公司今年2月份以来还联合投资相继设立了其他8家电子商务公司,分别为广州三棵树电子商务有限公司、贵州三棵树电子商务有限公司、山东三棵树电子商务有限公司、海南三棵树电子商务有限公司、黑龙江三棵树电子商务有限公司、吉林三棵树电子商务有限公司、云南三棵树电子商务有限公司、甘肃三棵树电子商务有限公司。上述公司的经营范围均一致。
涂界观察员李明月分析指出,三棵树目前的的销售渠道分为经销商渠道、家装公司渠道和工程渠道等,营销模式采用线上与线下相结合的方式。在线上布局方面,公司目前在阿里巴巴集团旗下天猫平台,以及京东、小红书、抖音等其他主流电商平台进行产品销售、品牌推广及产品展示。而近期密集投资设立电子商务,三棵树旨在利用互联网为消费者搭建出一条线上线下无缝式的购物链,加大线上渠道开拓力度,提高线上销售份额以及加大线上引流。
李明月进一步表示,三棵树加大了零售发展力度,不断探索高端零售转型新模式,持续推进全渠道营销网络建设,坚持零售高端化、年轻化、服务化和线上化,特别是通过布局和推动经销商线上云店、智慧商城、设计师 APP等项目发展数字化新零售业务。近年来,三棵树深耕淘宝、京东等电商主流平台,同时大力拓展抖音、快手、腾讯视频号、小红书等电商渠道,搭建线上全渠道覆盖体系,不断开拓新零售业务,公司电商新零售模式、抖音本地团购模式成长迅速。
不仅如此,三棵树近期还投资设立了一家家居公司——福建三棵树家居有限公司。根据显示,福建三棵树家居公司注册成立于2025年2月20日,注册资本1500万人民币,法定代表人洪圣源。股东为三棵树涂料股份有限公司、福建三棵树建筑材料有限公司,持股比例分别为90%、10%。
福建三棵树家居公司经营范围包括一般项目:家具销售;互联网销售;家具制造;家具零配件生产;家具零配件销售;家具安装和维修服务;建筑材料销售;五金产品批发;五金产品零售;涂料销售;办公用品销售;办公设备销售;广告设计、代理;图文设计制作;企业管理咨询;创业投资;工程管理服务;专业设计服务。
涂界记者注意到,其实早在去年三棵树还与其他企业联合投资设立了莆田三棵树家居有限公司,后者注册成立于2024年6月5日,经营范围包括一般项目:家具制造;家具销售;家具安装和维修服务;家具零配件销售;建筑材料销售;保温材料销售;轻质建筑材料销售;门窗销售;涂料销售。

涂界记者注意到,去年10月23日,三棵树首家高端全屋定制直营门店在福建莆田市荔城区红星美凯龙家居商场盛大开业。据悉,三棵树高端全屋定制是三棵树集团旗下家居品牌。三棵树副总裁洪圣源在开业庆典上表示,随着人们对美好生活的追求和品味不断提升,消费者对个性化消费服务体验的需求日益增长。作为民族建材领军品牌,三棵树致力于满足并引领人们对美好生活的需求。
此次开业的直营门店展示了三棵树全屋定制产品的优势,包括高品质材料、精湛工艺和设计美感。三棵树专注于高品质定制家居产品及配套产业,拥有大型现代化智造工厂、专业设计团队和完备服务体系。公司为客户提供包括衣柜、橱柜等定制柜类,门墙系统、定制家具等在内的全屋定制产品及服务,满足消费者对美好生活的向往。
据悉,三棵树高端全屋定制专注于高品质的定制家居产品及配套产业,携手全球知名一线品牌供应商,为客户提供涵盖了以衣柜和橱柜为代表的定制柜类、门墙系统、定制家具等全屋定制产品及服务。旗下拥有大型现代化智造工厂,专业设计团队以及完备的服务体系,为万千家庭提供独一无二的定制服务,让更多家庭享受更高品质的生活。
三棵树创立于2002年,总部位于福建莆田,于2016年在上交所A股主板上市,主要从事涂料及防水材料的研发、生产、销售和施工服务,业务涵盖了建筑涂料、工业涂料、艺术涂料、木器涂料、地坪涂料、防水材料、保温装饰板、辅材辅料、胶黏剂、家居板材以及装饰施工等。公司在建筑涂料、仿石涂料、艺术涂料、防水材料、辅材辅料等领域的产销量位居国内行业前列。
创立以来,三棵树业绩实现高速增长,成为业内发展最快的企业,目前集团旗下投资及控股20多家公司,并在上海、广州、北京成立了三大中心,在全国布局13大生产基地。经过二十余年的发展,三棵树目前是中国最大的民族涂料企业,也是全球涂料13强、全球建筑装饰涂料品牌10强、全球涂料上市公司市值10强企业。根据《涂界》发布的权威榜单显示,三棵树已连续多年蝉联中国民族涂料第一品牌。
作为国内领先的涂料企业,三棵树在深耕涂料业务的同时,还涉及防水材料、节能保温、胶黏剂、基材辅料(腻子粉/美缝剂/瓷砖胶/砂浆等)、家居新材料等多领域,多品类建材业务并驾齐驱。而新成立的家居公司,经营范围包括了家具销售、家具制造、家具零配件生产、家具零配件销售、家具安装和维修服务等,属于非涂料业务领域。“投资新成立家居公司,传递出在当前的行业背景下,三棵树‘破边界、谋出路、向未来’的积极心态。”涂界观察员李明月分析表示。
李明月进一步分析指出,产业向上价值空间的挖掘和横向品类以及相关多元化的扩张,正成为近年来主流涂料企业市场运作的缩影。三棵树新成立的家居公司的业务范围不再局限于传统涂料制造,而是向更广泛的领域延伸,显示出三棵树正在通过多元化布局寻找新的增长点,依托于现有涂料资源禀赋和优势,深入挖掘潜力,来满足用户的多元需求,从而挖掘出更多的价值。
同时也有分析认为,此次福建三棵树家居有限公司的成立,是三棵树从单一涂料供应商向“全屋解决方案服务商”转型的关键落子。新成立的家居公司将依托涂料主业积累的200万+家庭用户数据,构建“涂料+定制”的生态闭环。这种横向拓展既能消化现有渠道资源,又能通过门墙柜一体化提升客单价——据行业数据显示,一体化解决方案可比单品销售提升30%以上毛利空间。
分析还认为,在服务端,三棵树2024年加大渠道布局,大幅度强化终端服务能力。新公司的安装维修板块依托总公司的投入布局能够直击行业痛点——行业数据显示,市场中75%的消费者因服务体验差放弃二次购买。这种“产品+服务”模式的深化,正是三棵树应对存量竞争的关键策略。“三棵树家居新公司的成立,不仅是其战略拼图的重要一环,更是行业变革的风向标”。