来源 :新浪财经2021-07-09
7月8日晚间,歌力思发布非公开发行股票发行结果,但斌旗下的东方港湾、知名机构景林资产、云南富豪陈尔佳现身定增名单。
公开资料显示,歌力思主营业务为女装设计、研发及销售,于2015年上市。歌力思此次定向增发股票募集资金总额约4.83亿元,用于对外收购以及补充流动资金。
女装公司定增
引来一众“大佬”捧场
7月8日晚,歌力思发布定增发行结果等公告,公司此次发行3657.73万股,每股发行价为13.20元,募集资金总额约4.83亿元。
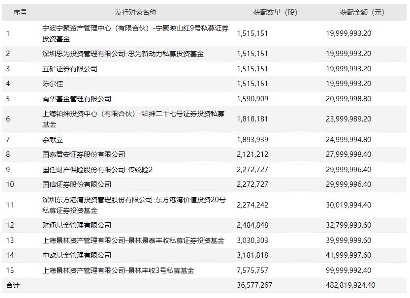
歌力思定增对象

从发行结果来看,此次定增阵容颇为豪华,15家入局主体中包含了多家知名机构及投资人。其中,景林资产旗下两只基金合计获配金额约1.4亿元,分别成为公司第三、第四大股东;东方港湾获配约3000万元,成为公司第八大股东;中欧基金获配约4200万元,财通基金获配约3280万元,南华基金获配约2100万元。
此外,名单中还出现了个人投资者陈尔佳。中证君通过核对公告披露的信息发现,陈尔佳系A股上市公司沃森生物的创始人之一,其于2016年辞去沃森生物副董事长职务。沃森生物2021年一季报显示,陈尔佳目前持有沃森生物1.41%的股份,位列第九大股东之列。在2020年胡润百富榜中,陈尔佳夫妇的财富总额位列云南第九位。
此外,本次定增还吸引多家证券公司和保险公司参投。国任财产保险、国信证券、国泰君安、五矿证券等均在发行对象名单之列。
公开资料显示,歌力思成立于1999年,主要从事女装的设计研发、生产和销售,于2015年在上交所挂牌上市。从业绩表现来看,歌力思2021年第一季度实现营业收入5.36亿元,同比增长30.61%;归母净利润为0.94亿元,同比下降61.60%。
截至7月8日,歌力思报收15.26元/股,对应总市值51亿元。
深耕收购
打造国际品牌矩阵
歌力思方面表示,本次募资是为了子公司东明国际投资(香港)有限公司增资以收购ADON WORLD SAS 43%股权以及补充流动资金。
据悉,ADON WORLD SAS 目前持有 IRO SAS 100%的股权,IRO SAS 及歌力思分别持有依诺时尚(深圳)服饰有限公司(以下简称“依诺时尚”)20%及 80%的股权。
此前,歌力思已经持有了ADON WORLD SAS 57%股权,此次收购完成后,歌力思将实现对IRO品牌100%的控股。歌力思方面披露,IRO 品牌在中国正处于一个加快发展的阶段,2020年在中国的销售收入突破了1亿元,较去年同比增长了13.6%。
公开资料显示,歌力思自2015年上市以来深耕收购,建立了涉及时尚、潮牌、轻奢、网红等多领域的风格差异化的国际化品牌矩阵。
歌力思披露的相关数据显示,在公司近5年对陆续收购品牌的有效培育下,旗下Laurèl、IRO Paris与Self-portrait都已进入了良好的成长期,在疫情下有亮眼的表现。Laurèl品牌2020年在疫情期间逆势增长,销售额较2019年增长25%,今年一季度收入相较于2020年同期增长126%;IRO Paris品牌在国内同样获得了良好的发展,2020年收入同比增长13.6%;self-portrait品牌在年轻人群中有较大影响力,开设的6家门店都获得了单店的强劲销售表现。