安正时尚(603839)8月29日披露2024年半年报。2024年上半年,公司实现营业总收入10.20亿元,同比下降21.04%;归母净利润亏损1210.96万元,上年同期盈利2794.07万元;扣非净利润亏损1845.90万元,上年同期盈利1232.96万元;经营活动产生的现金流量净额为-5052.25万元,上年同期为5129.54万元;报告期内,安正时尚基本每股收益为-0.03元,加权平均净资产收益率为-0.60%。
报告期内,公司合计非经常性损益为634.94万元,其中计入当期损益的政府补助为600.72万元。

以8月28日收盘价计算,安正时尚目前市盈率(TTM)约为247.18倍,市净率(LF)约为0.84倍,市销率(TTM)约为0.88倍。
公司近年市盈率(TTM)、市净率(LF)、市销率(TTM)历史分位图如下所示:


根据半年报,公司第二季度实现营业总收入5.11亿元,同比下降25.75%,环比增长0.33%;归母净利润160.49万元,同比增长200.42%,环比增长111.70%;扣非净利润42.23万元,同比增长106.51%,环比增长102.24%。
资料显示,公司主要业务为中高档品牌时装的自主研发、生产、销售及品牌管理。
2024年上半年,公司毛利率为46.87%,同比上升2.33个百分点;净利率为-1.43%,较上年同期下降3.75个百分点。从单季度指标来看,2024年第二季度公司毛利率为45.02%,同比上升4.62个百分点,环比下降3.71个百分点;净利率为-0.12%,较上年同期下降0.42个百分点,较上一季度上升2.63个百分点。
数据显示,2024年上半年公司加权平均净资产收益率为-0.60%,较上年同期下降1.94个百分点;公司2024年上半年投入资本回报率为-0.62%,较上年同期下降1.78个百分点。
2024年上半年,公司经营活动现金流净额为-5052.25万元,同比减少1.02亿元;筹资活动现金流净额2929.99万元,同比增加2.13亿元;投资活动现金流净额-1.48亿元,上年同期为7560.35万元。
进一步统计发现,2024年上半年公司自由现金流为-1.79亿元,上年同期为2.09亿元。
2024年上半年,公司营业收入现金比为106.10%。
营运能力方面,2024年上半年,公司总资产周转率为0.38次,上年同期为0.46次(2023年上半年行业平均值为0.26次,公司位居同行业4/40);固定资产周转率为2.41次,上年同期为2.86次(2023年上半年行业平均值为2.51次,公司位居同行业18/40);公司应收账款周转率、存货周转率分别为5.68次、0.90次。
2024年上半年,公司期间费用为4.64亿元,较上年同期减少5771.65万元;但期间费用率为45.47%,较上年同期上升5.09个百分点。其中,销售费用同比下降11.87%,管理费用同比下降10.08%,研发费用同比下降21.7%,财务费用由去年同期的-117.91万元变为390.35万元。
资产重大变化方面,截至2024年上半年末,公司交易性金融资产较上年末增加132.29%,占公司总资产比重上升6.61个百分点;货币资金较上年末减少36.66%,占公司总资产比重下降4.84个百分点;预付款项较上年末增加267.45%,占公司总资产比重上升1.66个百分点;其他应收款(含利息和股利)较上年末减少40.38%,占公司总资产比重下降1.43个百分点。
负债重大变化方面,截至2024年上半年末,公司短期借款较上年末增加215.91%,占公司总资产比重上升3.96个百分点;其他流动负债较上年末减少69.37%,占公司总资产比重下降2.79个百分点;应付账款较上年末减少31.18%,占公司总资产比重下降1.75个百分点;其他应付款(含利息和股利)较上年末增加44.77%,占公司总资产比重上升1.50个百分点。
从存货变动来看,截至2024年上半年末,公司存货账面价值为5.9亿元,占净资产的30.02%,较上年末减少2866.09万元。其中,存货跌价准备为1.69亿元,计提比例为22.3%。
在偿债能力方面,公司2024年上半年末资产负债率为24.03%,相比上年末下降0.36个百分点;有息资产负债率为6.61%,相比上年末上升3.74个百分点。
2024年上半年,公司流动比率为2.58,速动比率为1.53。
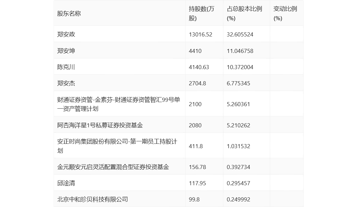
半年报显示,2024年上半年末公司十大流通股东中,新进股东为阿杏海洋星1号私募证券投资基金、金元顺安元启灵活配置混合型证券投资基金、邱淦清、北京中和珍贝科技有限公司,取代了一季度末的郑秀萍、丁勇、苏学勇、赵颖。在具体持股比例上,陈克川、安正时尚集团股份有限公司-第一期员工持股计划持股有所下降。
值得注意的是,根据半年报数据,安正时尚24.09%股份处于质押状态。其中,第二大股东郑安坤质押3900.00万股公司股份,占其全部持股的88.44%。
筹码集中度方面,截至2024年上半年末,公司股东总户数为1.71万户,较一季度末下降了1134户,降幅6.23%;户均持股市值由一季度末的12.63万元下降至10.22万元,降幅为19.08%。
指标注解:
市盈率
=总市值/净利润。当公司亏损时市盈率为负,此时用市盈率估值没有实际意义,往往用市净率或市销率做参考。
市净率
=总市值/净资产。市净率估值法多用于盈利波动较大而净资产相对稳定的公司。
市销率
=总市值/营业收入。市销率估值法通常用于亏损或微利的成长型公司。
文中市盈率和市销率采用TTM方式,即以截至最近一期财报(含预报)12个月的数据计算。市净率采用LF方式,即以最近一期财报数据计算。
市盈率为负时,不显示当期分位数,会导致折线图中断。