2024年最新财报显示,步长制药(603858.SH,公司)营业收入110亿元,同比下降17%;归母净利润亏损5.5亿元,同比下降274%。

(来源:公司2024年财报)
公司解释,2024年其经营情况发生了一些重大变动,特别是全资子公司通化谷红和控股子公司吉林天成的多款产品相继被调出医保目录,以及部分产品因医保受限或被部分省份纳入重点监控目录使得销量减少,导致公司净利润及每股收益显著下降。
2024年,公司对通化谷红和吉林天成等子公司商誉进行了减值测试,拟计提商誉减值准备合计8.53亿元,其中,对有关通化谷红和吉林天成的商誉计提商誉减值准备7.94亿元。

(来源:公司2024年财报)
值得注意的是,这并不是步长制药首次大额资产减值,持续、大额的减值的异常情况,自然引起了风云君的注意。

商誉连环暴,财务大洗澡
步长制药主要从事中成药的研发、生产和销售,主要产品涉及心脑血管疾病、妇科用药等领域。

(来源:公司官网)
步长制药在2012-2015年期间,通过高溢价收购的方式,累计耗资63.5亿元完成了对吉林天成和通化谷红两家公司的股权收购。
2012年和2015年,步长制药累计收购吉林天成95%股权,收购成本合计35.97亿元,确认商誉31.6亿元;
2013、2014和2015年,步长制药分三次完成对通化谷红100%股权的收购,收购成本合计27.5亿元,确认商誉18.4亿元。
两项收购合计确认商誉49.97亿元,占当年公司期末总资产的33%。

(来源:公司招股书)
通过这两项收购,步长制药获得了吉林天成的独家产品复方曲肽注射液和复方脑肽节苷脂注射液,以及通化谷红的核心产品谷红注射液。这些产品在当时被认为能够为公司带来稳定的收入和利润。
2015年,公司的三款主打产品脑心通胶囊、稳心颗粒、丹红注射液合计贡献收入88亿元,占公司当年总收入比重为76%。
随着并购的谷红注射液、复方曲肽注射液和复方脑肽节苷脂注射液等产品的综合发力,公司营收也开始“水涨船高”。
2015-2020年,公司营收由117亿元增长至160亿元。公司在年报中表示,上述六款产品属于“大力发展和培育的中药大品种”,并且列示六款产品合计收入。

(数据来源:公司历年财报)
2020年,是这六款产品合计收入最高的一年(108亿元),也对应着近十年公司总收入的高点。

(来源:2020年公司财报)
自2020年起,谷红注射液、复方曲肽注射液和复方脑肽节苷脂注射液陆续被调出各省级医保目录,并在部分省份被纳入“重点监控合理用药目录”,导致销量大幅下滑。

(来源:2022年公司财报)
随着医保政策的调整和市场竞争的加剧,这些曾经的“大品种”收入明星们凸显乏力。上述六款产品合计收入从2020年的108亿元降至2022年的95亿元。
2023年开始,公司干脆不再统计六款明星产品的合计收入,而是只统计脑心通、稳心颗粒、丹红注射液这三款产品的合计收入——毕竟这三款产品还没有被调出医保目录。
不过,这三款产品也没好到哪里去:2024年脑心通、稳心颗粒、丹红注射液三款产品合计收入58亿元,较2015年三款产品的合计收入(88亿元)减少了34%。
在这个过程中,公司的总收入也从2020年的160亿元锐减至2024年的110亿元,降幅超过30%。

(来源:市值风云APP)
在上交所问询函回复中,公司披露了2022、2023两年谷红注射液、复方曲肽注射液和复方脑肽节苷脂注射液三款产品的销售情况,这三款产品2023年的销售金额较2022年的下降幅度在50%-85%之间。

(来源:公司问询函回复)
医保政策调整和竞争加剧的现实已经改变了曾经的收购逻辑,高溢价收购所形成的商誉减值风险,不得不释放。
2022年开始,公司对50亿元的商誉进行“大刀阔斧”的切割:当年对吉林天成和通化谷红的商誉一次性计提了30.7亿元的减值损失,一把砍掉六成。
并在之后的2023、2024两年,继续计提商誉减值损失,分别为6亿元、8.5亿元。

(数据来源:公司历年财报)
要知道,2021年公司经过商誉减值测试还认为吉林天成和通化谷红没有问题,而未对这两家公司相关的商誉做一分钱的减值,怎么只过了一年,这两家公司相关资产就成了一堆急于扔掉的垃圾了呢?
其实在2021年,公司的营业利润规模明显较此前下了一个台阶,这种盈利规模收缩显然不是来自商誉减值,而更多归因于主要产品收入减少以及成本、费用相对刚性的综合影响。

(数据来源:公司历年财报)
加总来看,2021-2024年期间,公司累计计提商誉减值高达45.3亿元,占初始商誉总额的88%。
经过连续三年的商誉资产“大清洗”,公司很大程度上甩掉了商誉资产的隐患,用卖方的经典话术来形容,就是“轻装上阵”。
按照一般风云君编纂的《资本市场套路学》进行推演,接下来就要放大招了。果然,2025年一季报显示,公司营收同比小幅增长5%,为28亿元;归母净利润则在低基数效应下同比大涨169%,为3亿元。

(来源:公司历年财报)

销售费用畸高
甩掉商誉包袱,业绩就真的能如公司所愿吗?
显然不是,事实上公司下面这两个弊病才更加致命。
Wind数据显示,2022年以来中药生产板块的平均销售费用率整体趋降,2025Q1板块销售费用率28%,而同期步长制药的销售费用率39%,较行业均值高出11个百分点。
事实上,步长制药的销售费用率持续高于行业均值,2022年最高时甚至高出近20个百分点。

销售费用的高企不仅体现在金额和占比上,更体现在其结构上:2024年,公司销售费用中市场、学术推广费及咨询费占比高达93%。

(来源:公司2024年财报)
公司在上交所问询函回复中披露,2023年支付给第一大销售服务商海南椰云众包科技有限公司4.49亿元交易费用。不过,2023年海南椰云的参保人数仅10人。

(来源:公司问询函回复)
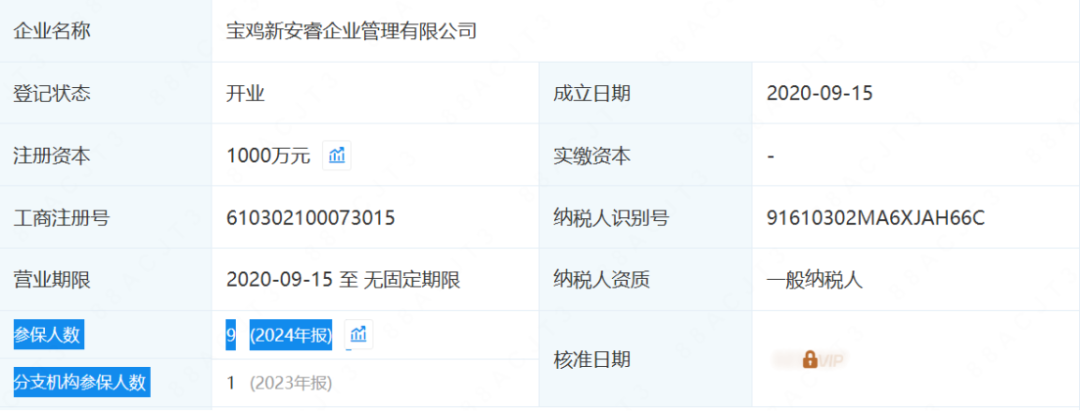
无独有偶,公司的第二大服务商——成立于2020年的宝鸡新安睿企业管理有限公司,2023年公司支付给后者2.94亿元交易费用,而宝鸡新安睿在2024年的参保人数也仅有9人。

还有,2021-2023年,贵州名帅酒业销售有限公司一直稳居公司销售费用前十大支付对象前列,三年间公司对贵州名帅支付交易费用总计5733万元,2023年一年就支付了2138万元。
不过,招股书与工商信息显示,贵州名帅酒业的实控人王秀珍恰恰是步长制药实控人赵涛的岳母。步长制药在公告中表示,与名帅酒业的业务往来是基于公司销售业务中的正常接待活动需求。

(来源:公司招股书)

研发资本化处理激进,美化短期盈利表现
与公司费尽心思花出去的畸高销售费用形成鲜明对比的,就是公司那相形见绌的研发投入。
尽管公司从2018年开始就宣称要“从营销型驱动向产品型驱动、向科技型公司转型”,但其近五年的研发费用率始终在2%-3%附近徘徊。

(来源:市值风云APP)
事实上,近年来,步长制药在研发资本化方面的操作较为激进,其资本化研发支出占总研发支出的比例显著上升。
但即便如此,2024年连同资本化在内的研发支出不过7.2亿元,而同期销售费用(43亿元)是研发费用的近6倍。
这种“轻研发重销售”的模式与行业创新导向背道而驰,而且在医保政策趋严、市场竞争加剧的背景下,显然难以支撑企业的长期发展。
随着研发支出中资本化的部分逐年增加,公司的研发资本化率也逐年攀升,由2020年的26%提高至2024年的52%。这就引发进一步的思考,公司是否涉嫌借助研发资本化美化盈利?

(数据来源:公司财报)
经调整的经营利润显示,2022年开始公司通过主业经营获得的盈利规模锐减,到了2024年骤降至9亿元,较2022年减少了56%。站在公司的角度就可以理解:如果不提高研发投入资本化率,那么研发费用就会进一步侵蚀这点盈利。

(数据来源:公司财报)
例如2023年,公司盈利1.5亿元,如果当年未将研发投入资本化率提高到49%,那么这3.25亿元的研发投入资本化部分就会轻而易举地吞噬当年盈利。
近年来,步长制药多次因大额资产减值引发市场侧目。
从商誉减值到存货跌价准备,动辄数亿元的资产“蒸发”不仅牵动着投资者的神经,更将这家老牌中成药企推向财务真实性与稳健性的质疑漩涡。
在行业监管趋严、带量采购重塑市场格局的背景下,资产减值本是企业应对经营风险的常规操作,但当减值规模超出同业水平、减值时点暗合业绩承压周期时,投资者自然产生疑问:
这究竟是经营环境变化下的合理财务调整,还是掩盖竞争力下降、资产质量恶化的“会计魔术”?
免责声明:本报告(文章)是基于上市公司的公众公司属性、以上市公司根据其法定义务公开披露的信息(包括但不限于临时公告、定期报告和官方互动平台等)为核心依据的独立第三方研究;市值风云力求报告(文章)所载内容及观点客观公正,但不保证其准确性、完整性、及时性等;本报告(文章)中的信息或所表述的意见不构成任何投资建议,市值风云不对因使用本报告所采取的任何行动承担任何责任。