公开信息随便一搜就能发现多处异常。

A股市场真是无奇不有,以往就听说过很多奇葩故事,比如獐子岛扇贝跑了又游回来、皇台酒业库存酒“蒸发”、中国好同学不忍看到*st博元退市而捐赠10亿、国民技术5亿理财资金被卷款而逃……
近日又有一公司,一夜之间69亿订单降至1.6亿,金额直接缩水了97%以上,变更后金额甚至都达不到变更前的零头,这样的“离大谱”事件正发生在卓然股份(688121.SH)的身上。
这对于卓然股份的投资者来说无疑是当头一棒,此后两天股价累计下降超10%!订单骤降背后还藏着什么玄机?

营收占比超177%的订单,悄无声息的消失了
12月11日晚间,卓然股份突然披露一则《关于重大订单变更公告》,全资子公司上海卓然数智能源有限公司与振华石油变更了订单协议,订单价额从原来的69.36亿元骤降至1.57亿元。
(来源:卓然股份公告20241212)
这笔订单的签订发生在2023年4月,一共是3份合同。
69.36亿对卓然股份来说是什么概念呢?是其2021年(最高的)营收的1.78倍。而卓然股份当时(2022年末)的总资产不过77亿,目前的市值(截至12月17日)仅仅为27亿。
这样一笔巨额订单,如果能够成功落地,公司的业绩将直接冲破想象的天花板。
(来源:卓然股份公告20230415)
一石激起千层浪,公告次一交易日,卓然股份的股价直接喜提“20厘米”大长腿,成交量相较前一交易日更是放大超7倍。此后一周里,公司股价连续上涨,累计涨幅超40%。
(来源:卓然股份公告20230415)
按理说,接着就会是合同订单的逐步兑现,自然也将逐步体现在业绩上,卓然股份也曾在2023年下半年数次表示项目正在有序推进中,并已确认部分收入。
看似风平浪静的背后,暗雷正在悄然拉起。
合同的对手方叫振华石油(全称“振华石油化工有限公司”),成立于2019年,截至2022年末总资产不过15.2亿元,全年营收仅为1.7亿元。这样一家企业确定能啃下69亿元的大骨头吗?卓然股份在签订合同时又是否做过背调?
(来源:卓然股份公告20230415)
根据公告,卓然股份已经收到合同款7,500万元,已确认收入3,698万元。能收到预付款,至少能证明合同是真的,同时公司打心眼儿里对振华石油的实力活血也有顾虑。
(来源:卓然股份公告20241212)
此后一年多时间里,卓然股份未再明确披露这一订单进展情况。直到今年12月11日晚间才站出来表示,当初签订的三份合同中,仅有第三份开始部分执行和交付,合同履行期间已收到对应的项目预付款、进度款等,前两份则压根没启动。
如此难得一遇的大项目,执行进度明显滞后,卓然股份的管理层就没想过要催一催客户赶赶进度?没有察觉到一丝丝的异常?

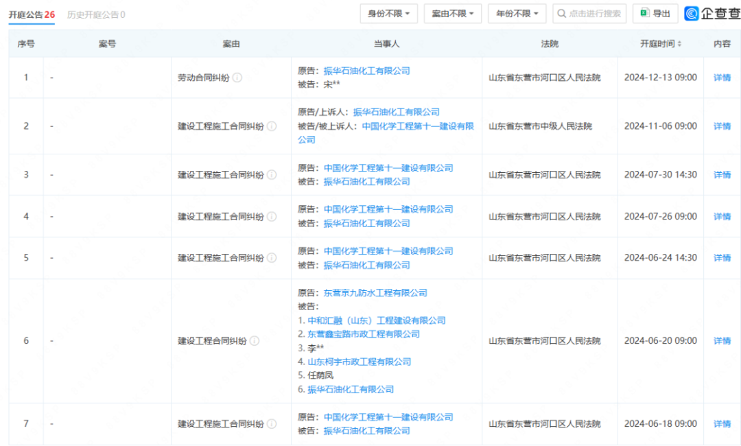
风云君稍微搜一搜企查查就能看到,振华石油自与卓然股份签订合同以来,累计产生了25个合同纠纷并闹上法庭,绝大多数都为建设工程施工合同,这是否代表着其生产经营或许出现了问题。
卓然股份到底是完全没有发现,还是选择秘而不宣呢?
(来源:企查查)
上游违约不追责,当代圣母转世?
对于这份跑路的大订单,卓然股份给出的解释是“丙烷-丙烯”价格的倒挂所致。
振华石油作为卓然股份的下游厂商,从卓然股份手中采购用于生产丙烷脱氢及环氧丙烷的精细化工设备,其生产工艺通常是丙烷脱氢(PDH),核心原料即为丙烷。
但在2022年以来,受国际油价常居高位影响,丙烷价格也一直居高不下。
而丙烯的市场行情却并不乐观,生产厂商亏钱卖货。拿渤海化学(600800.SH)来说,其毛利率在2023年已经为负19.03%,相较2020年差出了近40个百分点。
(来源:Choice终端,制图:市值风云APP)
这也使得相关产商的生产和扩产意愿不高,今年1-10月行业的装置开工率一直处在低位的75%左右,远低于2016-2020年的89%至94%范围。
(来源:卓然股份公告20241212)
渤海化学在今年11月也披露,全资子公司天津渤海石化有限公司的60万吨/年PDH装置于11月9日开始停产检修,预计检修65天左右。而在去年11月,渤海化学PDH装置停产检修的时间为45天。
(来源:渤海化学公告20241112)
不断拉长的检修期,其实也在一定程度上反映出这一行业的市场景气度并不理想,供给端饱和,需求端却并未出现明显增长,导致不少工厂库存压力增大,借停产检修的时间来消化库存。
这份不景气在上游设备厂卓然股份的业绩上也能得到验证。作为国内销售规模前列的大型炼油化工装备制造商,卓然股份近两年的业绩可谓凄惨。
收入端虽能维稳,但归母净利润已经连降近3年,从2021年高点3.2亿降至2023年的1.5亿,缩水了一半以上,今年前三季度3,412万,更是将同比降幅提升到41%。
梦里的69亿,终究是“竹篮打水一场空”!
(来源:市值风云APP)
还是那句话,卓然股份身处行业其中,不可能感知不到行业的变化。那么,与振华石油的大订单泡汤,它能是空穴来风、突然发生的吗?
卓然股份作为设备提供商,即振华石油的上游,其设备买卖与否靠的是手里的订单合同,拿到69亿的大合同不得提前买买材料备备货?
振华石油停止采购本质上属于单方面违约行为,对于卓然股份来说能一点损失都没有?
(来源:渤海化学公告20230415)
令风云君不解的是,在订单签署时,双方也已明确约定了彼此的权利和义务、违约责任和赔偿。但此次,卓然股份选择不追究对方的任何责任。
究竟是圣母转世,还是早就有预案,更或者从一开始就有其他的小九九呢?
(来源:卓然股份公告20241212)
更可怕的是,与之类似的订单情况还不止一个。
今年4月,卓然股份又披露了一则签订重大合同公告,合同金额13.9亿元。而合作方广西宏坤2023年末的总资产4,924万元,营收还是零蛋,真的能承担起13.9亿体量的采购合同吗?
再看2023年年报,卓然股份手握超百亿重大销售合同,总金额超百亿,但已履行金额仅仅1.45亿,整体进度才不到1.4%。除去这次取消的,剩余两个是否会是同样的结局?
(来源:卓然股份2023年报)
正所谓“一朝被蛇咬十年怕井绳”,卓然股份的合同公告还值得相信吗?
巧合的私募减持,1.5个小目标到手
好巧不巧,就在69亿订单合同披露前几天,即2023年4月5日,卓然股份大股东马利平及其一致行动人牧鑫基金披露了减持计划,计划减持不超过1,216万股,不超过公司总股本的6%。
(来源:卓然股份公告20230405)
计划披露后不久,赶在大订单释放利好后的股价高位期间,马利平便实施了一次大手笔减持,减持股份248万股,参考市值达9,212万元,是卓然股份上市至今最大的一次大股东减持手笔。
(来源:市值风云APP)
连带着其余几次减持动作,马利平和牧鑫基金合计减持了512.54万股,参考市值超过1.5亿元。
(来源:Choice终端,制表:市值风云APP)
1.5个小目标轻松到手,背后究竟与这桩离谱的订单合同有没有关系?12月11日晚间,监管层的监管工作函也已送上,不知能否为我们揭开这个谜团,风云君拭目以待。