chaguwang.cn-查股网.中国
查股网.CN
康希诺(688185)内幕信息消息披露
 
个股最新内幕信息查询:    
 

康希诺、凯莱英、义翘神州都投了,与国外巨头存在专利纠纷,完成A股辅导备案

http://www.chaguwang.cn  2026-03-12  康希诺内幕信息

来源 :和诚咨询2026-03-12

  01

  基本情况

  2026年3月7日,百林科完成A股辅导备案,中介机构分别为中信证券、竞天公诚、容诚。

图片

  来源:证监会官网

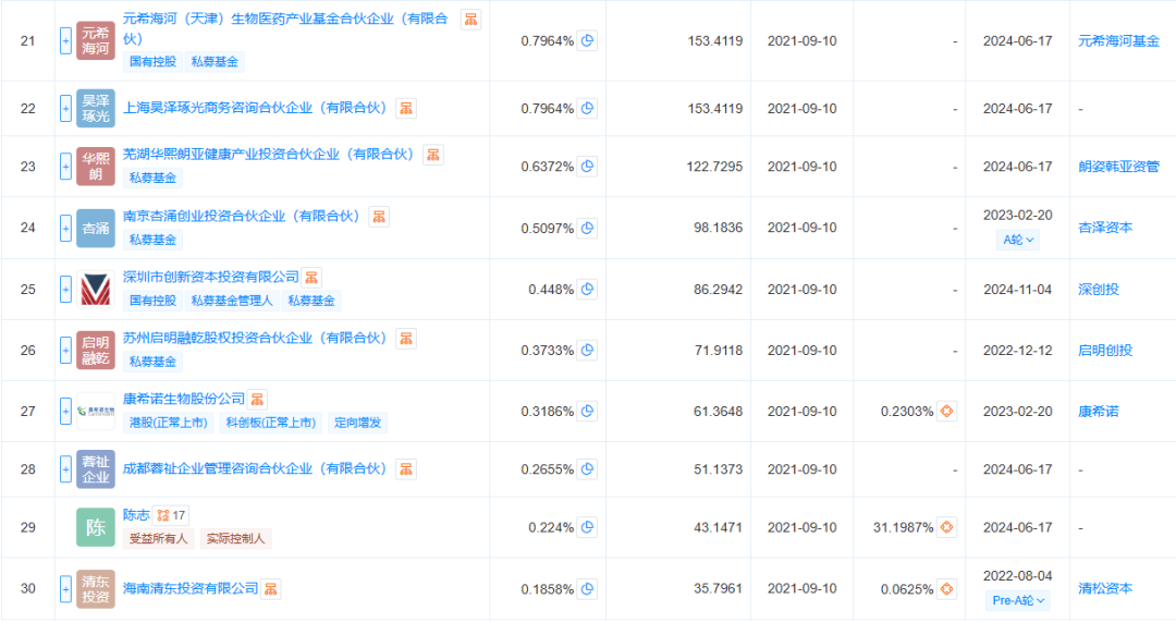
  公司在一级市场已经获得多轮融资,关注度较高,其中不乏产业资本,包括康希诺、凯莱英、华熙集团、义翘神州等。

图片

图片

  来源:天眼查

  根据凯莱英2024年年报,以凯莱英的投资金额及持股比例推算,公司估值当时为16亿。

图片

  来源:Choice

  公司专注于重组蛋白药物、疫苗、抗体药物、细胞治疗、基因治疗及其它生物制品生产工程中的关键工艺设备与耗材的研发和制造,产品涵盖生物工艺上游细胞培养、一次性配储液和下游层析、三滤、水化产品等工艺单元和工艺开发服务。

  公司的代表产品包括:

  (1)细胞培养方瓶,主要用于细胞贴壁培养,在实验室或工业生产过程中的细胞培养放大环节;

  (2)搅拌系统:提供了灵活高效的小规模配液解决方案,适用于工艺开发阶段和实验室;

  (3)全自动超滤系统:通过自动反馈调节系统流速和压力,实现对抗体、疫苗、血液制品、基因治疗药物等生物制品的浓缩、换液、脱盐、脱醇等自动化操作。

  (4)色谱填料和层析介质:生物医药分离纯化的关键耗材。

图片

图片

图片

  来源:公司官网

  总结来看,公司主要做的是生物制药领域的生产设备和一些一次性的耗材,而这些产品大多有一些国产替代的空间。

图片 来源:券商研报

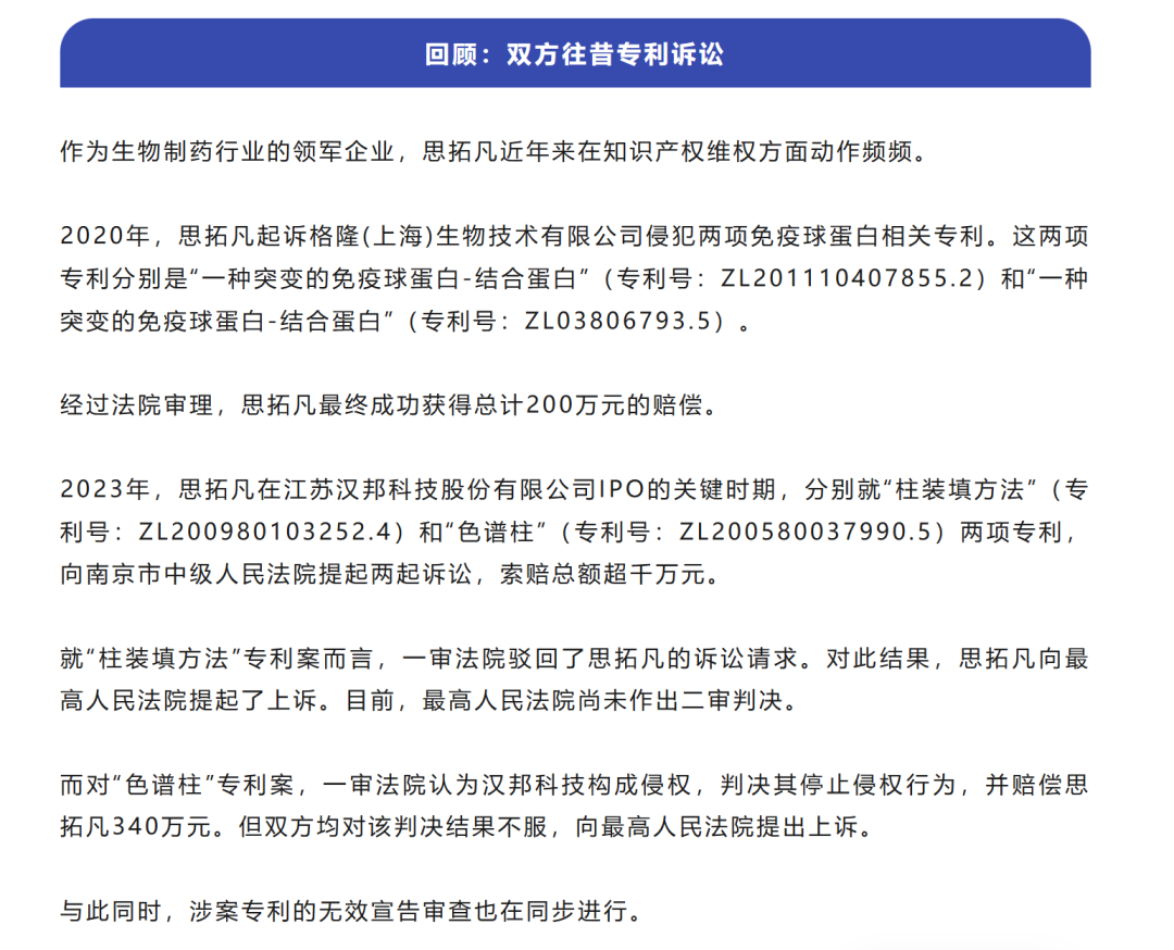
  近年来,公司与国外的行业巨头产生了专利纠纷。

图片 来源:天眼查

  根据报道和天眼查信息,公司和思拓凡近年来有多起专利纠纷。思拓凡前身为GE医疗生命科学,是全球生物技术领域的领军企业,产品覆盖一次性生物反应器、层析系统、过滤耗材等,尤其在一次性技术领域占据显著市场份额,与百林科在生物制药工艺设备和耗材市场存在直接竞争。

图片

  来源:互联网

  目前尚不知专利纠纷涉及的范围及影响程度,但对于公司IPO来讲是不利的。

  02

  IPO六要素

  一、业务

  见上文。

  根据信息,公司有部分境外销售,且在国内同类产品中处于领先地位。

图片

  来源:天眼查

  二、业绩

  公开信息披露较少。

图片

图片

图片

图片

有问题请联系 767871486@qq.com 商务合作广告联系 QQ:767871486
Copyright 2007-2026
www.chaguwang.cn 查股网