来源 :Insight数据库2023-04-21
4 月 21 日,NMPA 发布批件,诺诚健华 BTK 抑制剂「奥布替尼片」新适应症获批上市,用于治疗复发/难治性边缘区淋巴瘤(MZL)患者。
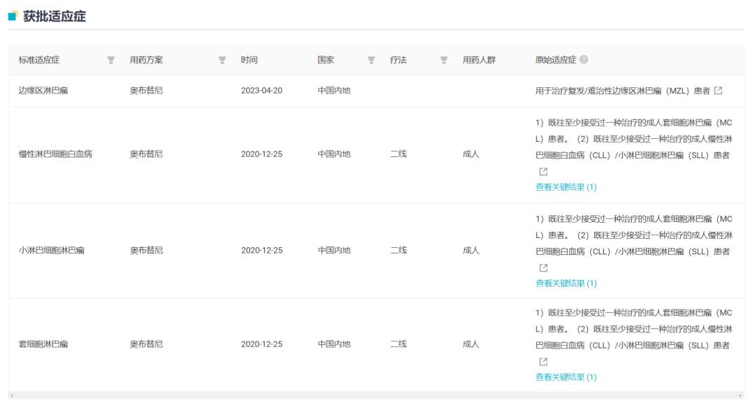
这是奥布替尼的第 3 个获批适应症,同时,本次获批之后,奥布替尼也成为了中国首个获批针对 MZL 适应症的 BTK 抑制剂。


截图来自:NMPA 官网
据 Insight 数据库显示,奥布替尼在 2020 年 12 月 25 日曾获批二线治疗 CLL/SLL 和 MCL 两项适应症。
奥布替尼当前所有获批适应症

截图来自:Insight 数据库网页版(http://db.dxy.cn/v5/home/)
对比国内获批的 4 款 BTK 抑制剂
国内已获批 BTK 抑制剂境内进度对比

截图来自:Insight 数据库网页版