来源 :药智网2024-02-05
导读:自免、抗感染、肿瘤
2月4日,据CDE官网显示,智翔(上海)医药科技有限公司、重庆智翔金泰生物制药股份有限公司(以下简称“智翔金泰”)的1类新药GR2102注射液获得临床试验默示许可,适应症为预防呼吸道合胞病毒感染。

图片来源:CDE官网
剑指RSV市场潜力巨大
呼吸道合胞病毒(RSV)属于副黏病毒科肺炎病毒属,是一种传染性病毒。据统计,几乎所有儿童在2岁前均感染过呼吸道合胞病毒,该病毒主要引起6个月以下婴儿患细支气管炎和肺炎等下呼吸道感染,以及较大儿童和成人的鼻炎、感冒等上呼吸道感染。中国由于人口基数庞大,因RSV感染导致儿童下呼吸道感染的人数在全球排名靠前。自RSV被发现以来,研究者们便着手开发相关治疗或预防手段,但常常以失败告终,因此RSV也被称为疫苗界的研发黑洞。好在,近年来RSV领域的新药开发出现了多项突破性进展,已有相关疫苗成功获批上市。然而,目前全球仍然尚无RSV根本性治疗药物上市,针对该病毒,以预防性药物为主。GR2102注射液是一款RSV预防药物,2023年11月,其临床试验申请获得CDE受理,如今成功获得默示许可。

图片来源:CDE官网
由于国内RSV感染相关群体基数庞大,GR2102注射液有望提供临床新选择。
聚焦自免、抗感染、肿瘤加速在研管线临床进度
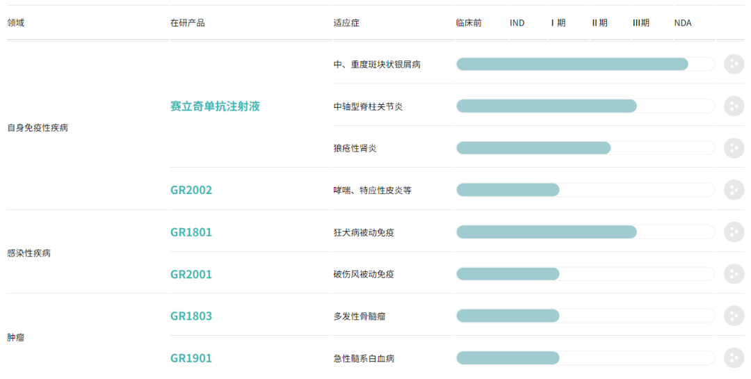
智翔金泰聚焦自身免疫性疾病、感染性疾病及肿瘤等疾病领域,专注于抗体等创新药物开发,目前已建立全面、丰富的在研产品管线。

图片来源:智翔金泰
赛立奇单抗注射液赛立奇单抗注射液(GR1501注射液)是智翔金泰开发的一款IL-17A单克隆抗体,可通过抗体特异性结合血清中的IL-17A蛋白,阻断IL-17A与IL-17RA的结合,从而抑制炎症的发生和发展。2023年3月,赛立奇单抗治疗中、重度斑块状银屑病的上市申请获得CDE受理,该药物成为了成为国内企业首家提交新药上市申请的IL-17A单抗。今年1月初,赛立奇单抗另一项适应症的新药上市申请也获得CDE受理,用于放射学阳性中轴型脊柱关节炎(强直性脊柱关节炎)治疗。此外,智翔金泰还正推进赛立奇单抗治疗狼疮性肾炎的研究。GR1801GR1801是智翔金泰开发的一款狂犬病被动免疫疫苗,能够同时特异性结合狂犬病毒G蛋白上表位I和III位点,阻断G蛋白与受体的结合,在狂犬疫苗主动免疫完全发挥保护作用前阻滞病毒对神经的侵染,从而预防狂犬病。被动免疫已成为当前狂犬病毒暴露后预防的重要措施之一。目前,GR1801的III期临床试验正被加速推进。此外,智翔金泰还拥有全球首个获批临床的TSLP双表位双抗GR2002注射液、用于预防破伤风的单克隆抗体GR2001等。日前,其IL-4Rα单抗GR1802注射液成功获批第5项适应症的IND,拟用于治疗过敏性鼻炎。
结语
在市场潜力巨大RSV领域,GR2102注射液等创新药物有望带来临床新选择。通过加速GR2102注射液等在研产品的临床研究,智翔金泰有望在不久后摘得创新果实。