chaguwang.cn-查股网.中国
查股网.CN
伟创电气(688698)内幕信息消息披露
 
沪深个股最新内幕信息查询:    
 

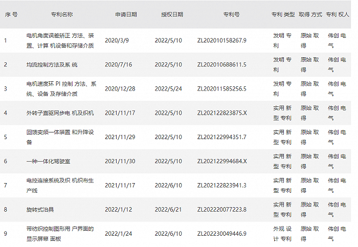
伟创电气:5月起至今获得9项专利证书,2项计算机软件著作权登记证书

http://www.chaguwang.cn  2022-07-01  伟创电气内幕信息

来源 :界面2022-07-01

  伟创电气7月1日公告,自2022年5月起至今,公司取得国家知识产权局颁发的专利证书9项,其中发明专利3项、实用新型专利5项、外观专利1项;取得国家版权局颁发的计算机软件著作权登记证书2项。

  

有问题请联系 767871486@qq.com 商务合作广告联系 QQ:767871486
查股网以"免费 简单 客观 实用"为原则,致力于为广大股民提供最有价值和实用的股票数据作参考!
Copyright 2007-2021
www.chaguwang.cn 查股网