chaguwang.cn-查股网.中国
查股网.CN
国义招标(831039)内幕信息消息披露
 
个股最新内幕信息查询:    
 

北交所龙虎榜|国义招标今日封涨停,买一席位净买入1163.06万元

http://www.chaguwang.cn  2025-07-09  国义招标内幕信息

来源 :犀牛之星2025-07-09

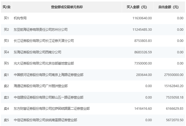
  7月9日消息,据北交所公开信息显示,国义招标(831039)今日上涨29.97%,换手率达12.58%,累计成交2.60亿元登上龙虎榜。

  根据龙虎榜交易数据显示,买一为机构专用,买入1163.06万元。买二为东亚前海证券有限责任公司苏州分公司,买入1124.55万元。卖出方面,卖一为中国银河证券股份有限公司南京上海路证券营业部,卖出2793万元。卖二为海通证券股份有限公司广州琶洲营业部,卖出1516.28万元。

  13456.png

  1.png

查股网为非盈利性网站 本页为转载如有版权问题请联系 767871486@qq.comQQ:767871486
Copyright 2007-2025
www.chaguwang.cn 查股网