来源 :犀牛之星2023-11-06
11月6日消息,据北交所公开信息显示,力王股份(831627)今日上涨4.87%,换手率为21.36%,累计成交3611.12万元登上龙虎榜。
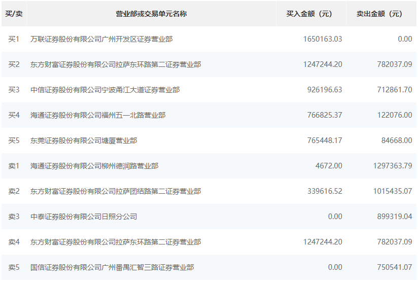
根据龙虎榜交易数据显示,买入方面,买一为万联证券股份有限公司广州开发区证券营业部,买入165.01万元。买二为东方财富证券股份有限公司拉萨东环路第二证券营业部,买入124.72万元,卖出78.2万元。卖出方面,卖一为海通证券股份有限公司柳州德润路营业部,卖出129.73万元,买入4672元。卖二为东方财富证券股份有限公司拉萨团结路第二证券营业部,卖出101.54万元,买入33.96万元。

