来源 :犀牛之星2025-03-14
3月14日消息,据北交所公开信息显示,克莱特(831689)今日上涨29.98%,换手率为42.7%,累计成交6.45亿元登上龙虎榜。
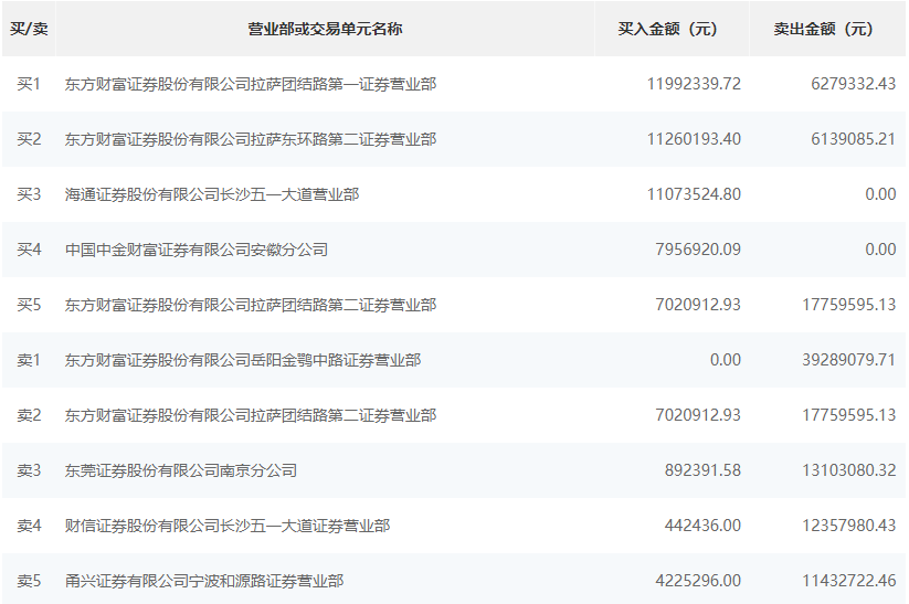
根据龙虎榜交易数据显示,买入方面,买一为东方财富证券股份有限公司拉萨团结路第一证券营业部,买入1199.23万元,卖出627.93万元。买二为东方财富证券股份有限公司拉萨东环路第二证券营业部,买入1126.01万元,卖出613.9万元。卖出方面,卖一为东方财富证券股份有限公司岳阳金鹗中路证券营业部,卖出3928.9万元。卖二为东方财富证券股份有限公司拉萨团结路第二证券营业部,卖出1775.95万元,买入702.09万元。

