chaguwang.cn-查股网.中国
查股网.CN
慧为智能(832876)内幕信息消息披露
 
沪深个股最新内幕信息查询:    
 

北交所龙虎榜|慧为智能今日成交5094.03万元,换手率达28.01%

http://www.chaguwang.cn  2022-11-11  慧为智能内幕信息

来源 :犀牛之星2022-11-11

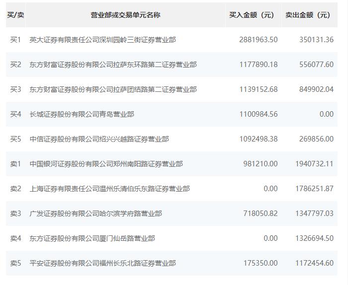
  11月11日消息,据北交所公开信息显示,慧为智能(832876)今日上涨1.26%,换手率达28.01%,累计成交5094.03万元登上龙虎榜。

  根据龙虎榜交易数据显示,买入方面,买一为英大证券有限责任公司深圳园岭三街证券营业部,买入288.2万元,卖出35.01万元。买二为东方财富证券股份有限公司拉萨东环路第二证券营业部,买入117.79万元,卖出55.61万元。卖出方面,卖一为中国银河证券股份有限公司郑州南阳路证券营业部,卖出194.07万元,买入98.12万元。卖二为上海证券有限责任公司温州乐清伯乐东路证券营业部,卖出178.63万元。

  2.jpg

有问题请联系 767871486@qq.com 商务合作广告联系 QQ:767871486
查股网以"免费 简单 客观 实用"为原则,致力于为广大股民提供最有价值和实用的股票数据作参考!
Copyright 2007-2022
www.chaguwang.cn 查股网