chaguwang.cn-查股网.中国
查股网.CN
立方控股(833030)内幕信息消息披露
 
个股最新内幕信息查询:    
 

北交所龙虎榜|立方控股今日封涨停,买一席位净买入逾1900万元

http://www.chaguwang.cn  2025-03-06  立方控股内幕信息

来源 :犀牛之星2025-03-06

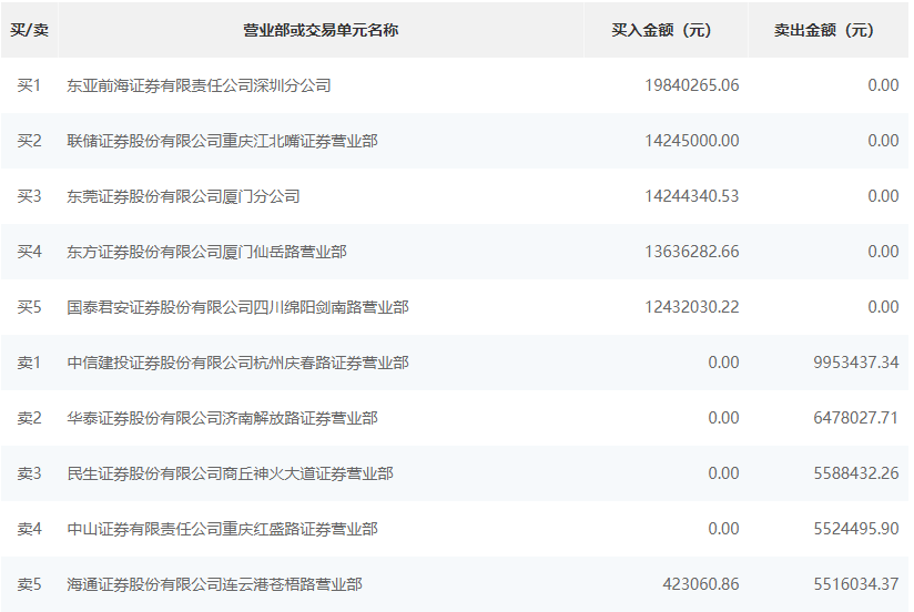
  3月6日消息,据北交所公开信息显示,立方控股(833030)今日上涨29.97%,换手率为30.18%,累计成交4.75亿元登上龙虎榜。

  根据龙虎榜交易数据显示,买入方面,买一为东亚前海证券有限责任公司深圳分公司,买入1984.02万元。买二为联储证券股份有限公司重庆江北嘴证券营业部,买入1424.5万元。卖出方面,卖一为中信建投证券股份有限公司杭州庆春路证券营业部,卖出995.34万元。卖二为华泰证券股份有限公司济南解放路证券营业部,卖出647.8万元。

  文章空白图.png

  2.png

查股网为非盈利性网站 本页为转载如有版权问题请联系 767871486@qq.comQQ:767871486
Copyright 2007-2025
www.chaguwang.cn 查股网