chaguwang.cn-查股网.中国
查股网.CN
优机股份(833943)内幕信息消息披露
 
沪深个股最新内幕信息查询:    
 

北交所龙虎榜|优机股份今日封涨停板,买一营业部净买入326.12万元

http://www.chaguwang.cn  2022-09-21  优机股份内幕信息

来源 :犀牛之星2022-09-21

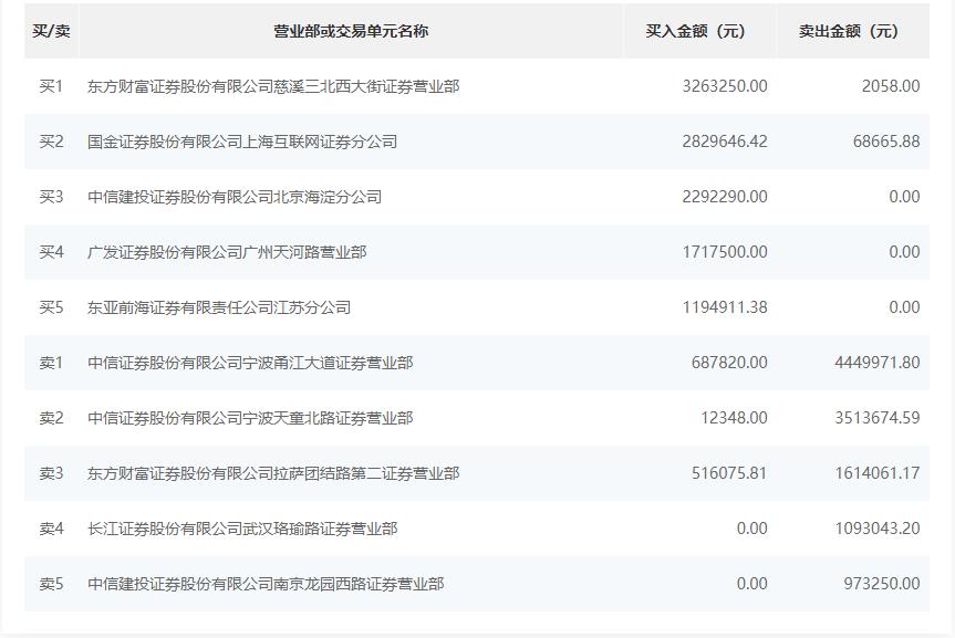
  犀牛之星讯,9月21日消息,据北交所公开信息显示,优机股份(833943)今日上涨23.5%,换手率达36.87%,累计成交5816.75万元登上龙虎榜。

  根据龙虎榜交易数据显示,买入方面,买一为东方财富证券股份有限公司慈溪三北西大街证券营业部,买入326.33万元,卖出0.21万元。买二为国金证券股份有限公司上海互联网证券分公司,买入282.96万元,卖出6.87万元。卖出方面,卖一为中信证券股份有限公司宁波甬江大道证券营业部,卖出445万元,买入68.78万元。卖二为中信证券股份有限公司宁波天童北路证券营业部,卖出351.37万元,买入1.23万元。

  4.jpg

有问题请联系 767871486@qq.com 商务合作广告联系 QQ:767871486
查股网以"免费 简单 客观 实用"为原则,致力于为广大股民提供最有价值和实用的股票数据作参考!
Copyright 2007-2022
www.chaguwang.cn 查股网