chaguwang.cn-查股网.中国
查股网.CN
康普化学(834033)内幕信息消息披露
 
个股最新内幕信息查询:    
 

北交所龙虎榜|康普化学今日成交1.08亿元,买一机构席位净买入1433.74万元

http://www.chaguwang.cn  2022-12-22  康普化学内幕信息

来源 :犀牛之星2022-12-22

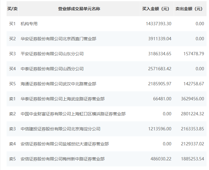
  12月22日消息,据北交所公开信息显示,康普化学(834033)今日上涨21.06%,换手率达20.72%,累计成交1.08亿元登上龙虎榜。

  根据龙虎榜交易数据显示,买入方面,买一为机构专用,买入1433.74万元。买二为华安证券股份有限公司北京西直门营业部,买入391.13万元。卖出方面,卖一为华泰证券股份有限公司上海武定路证券营业部,卖出362.95万元,买入6.65万元。卖二为中国中金财富证券有限公司上海虹口区横浜路证券营业部,卖出280.12万元。空白图.jpg

  1.png

有问题请联系 767871486@qq.com 商务合作广告联系 QQ:767871486
www.chaguwang.cn 查股网