来源 :犀牛之星2023-12-20
12月20日消息,据北交所公开信息显示,康普化学(834033)今日上涨20.03%,换手率为7.01%,累计成交8963.39万元登上龙虎榜。
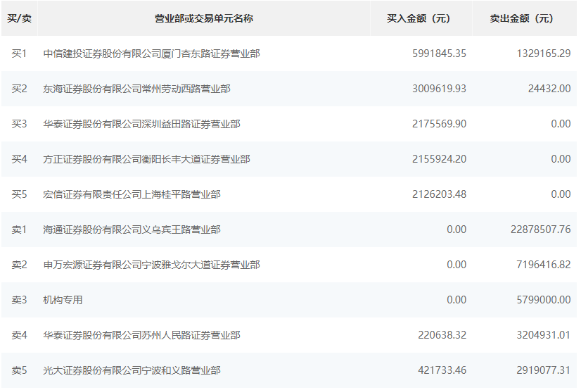
根据龙虎榜交易数据显示,买入方面,买一为中信建投证券股份有限公司厦门杏东路证券营业部,买入599.18万元,卖出132.91万元。买二为东海证券股份有限公司常州劳动西路营业部,买入300.96万元,卖出2.44万元。卖出方面,卖一为海通证券股份有限公司义乌宾王路营业部,卖出2287.85万元。卖二为申万宏源证券有限公司宁波雅戈尔大道证券营业部,卖出719.64万元。

