来源 :犀牛之星2024-12-31
12月31日消息,据北交所公开信息显示,美之高(834765)今日上涨30%,换手率为11.94%,累计成交1.65亿元登上龙虎榜。
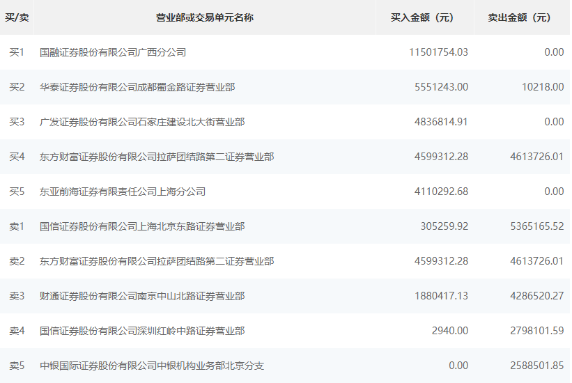
根据龙虎榜交易数据显示,买入方面,买一为国融证券股份有限公司广西分公司,买入1150.17万元。买二为华泰证券股份有限公司成都蜀金路证券营业部,买入555.12万元,卖出1.02万元。卖出方面,卖一为国信证券股份有限公司上海北京东路证券营业部,卖出536.51万元,买入30.52万元。卖二为东方财富证券股份有限公司拉萨团结路第二证券营业部,卖出461.37万元,买入459.93万元。

