chaguwang.cn-查股网.中国
查股网.CN
机科股份(835579)内幕信息消息披露
 
个股最新内幕信息查询:    
 

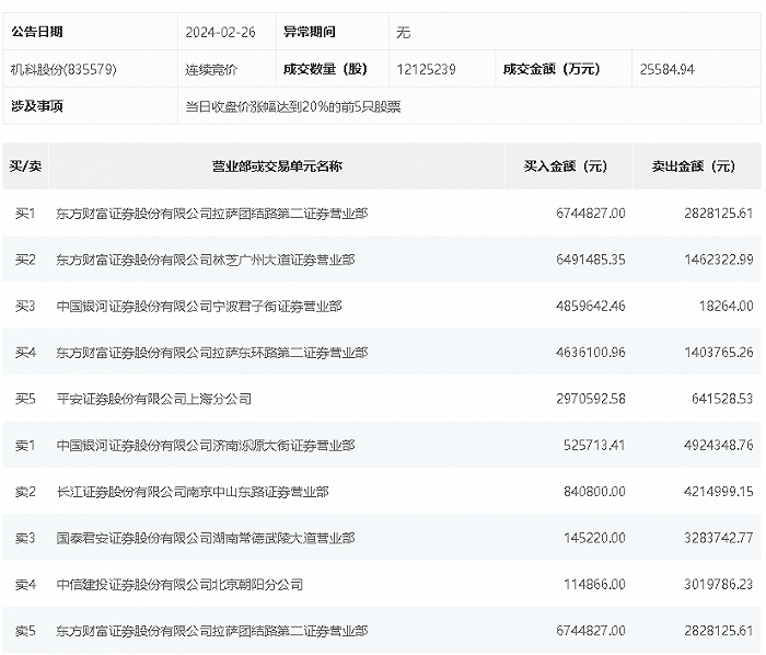
龙虎榜丨机科股份今日涨22.39%,上榜营业部席位合计净买入553.24万元

http://www.chaguwang.cn  2024-02-26  机科股份内幕信息

来源 :界面新闻2024-02-26

  2月26日,机科股份今日涨22.39%,龙虎榜数据显示,上榜营业部席位全天成交4912.61万元,占当日总成交金额比例为19.2%。其中,买入金额为2732.92万元,卖出金额为2179.69万元,合计净买入553.24万元。

  具体来看,东方财富证券拉萨团结路第二证券营业部、东方财富证券林芝广州大道证券营业部分别买入674.48万元、649.15万元;中国银河证券济南泺源大街证券营业部、长江证券南京中山东路证券营业部分别卖出492.43万元、421.50万元。

  

有问题请联系 767871486@qq.com 商务合作广告联系 QQ:767871486
www.chaguwang.cn 查股网