来源 :犀牛之星2025-03-12
3月12日消息,据北交所公开信息显示,机科股份(835579)今日上涨23.56%,换手率为44.96%,累计成交7.71亿元登上龙虎榜。
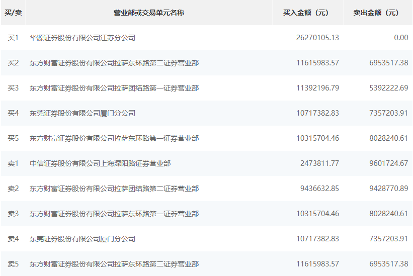
根据龙虎榜交易数据显示,买入方面,买一为华源证券股份有限公司江苏分公司,买入2627.01万元。买二为东方财富证券股份有限公司拉萨东环路第二证券营业部,买入1161.59万元,卖出695.35万元。卖出方面,卖一为中信证券股份有限公司上海溧阳路证券营业部,卖出960.17万元,买入247.38万元。卖二为东方财富证券股份有限公司拉萨团结路第二证券营业部,卖出942.87万元,买入943.66万元。

