来源 :犀牛之星2025-02-10
2月10日消息,据北交所公开信息显示,旭杰科技(836149)今日上涨30%,换手率为31.59%,累计成交2.17亿元登上龙虎榜。
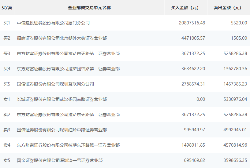
根据龙虎榜交易数据显示,买入方面,买一为中信建投证券股份有限公司厦门分公司,买入2080.75万元,卖出5520元。买二为招商证券股份有限公司北京朝外大街证券营业部,买入447.1万元,卖出1505元。卖出方面,卖一为长城证券股份有限公司武汉杨园南路证券营业部,卖出533.09万元。卖二为东方财富证券股份有限公司拉萨东环路第二证券营业部,卖出525.82万元,买入367.13万元。
