chaguwang.cn-查股网.中国
查股网.CN
博迅生物(836504)内幕信息消息披露
 
个股最新内幕信息查询:    
 

北交所龙虎榜|博迅生物今日成交2.62亿元,买一席位净买入617.43万元

http://www.chaguwang.cn  2025-08-19  博迅生物内幕信息

来源 :犀牛之星2025-08-19

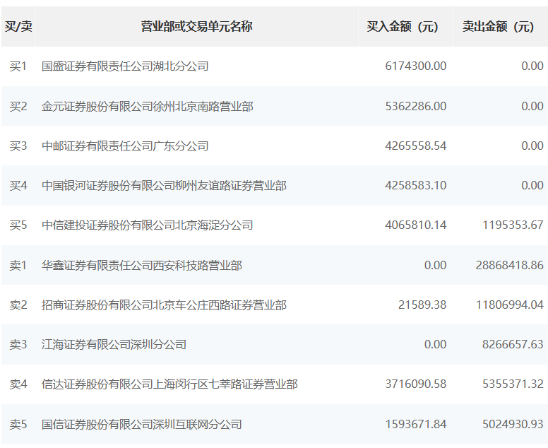
  8月19日消息,据北交所公开信息显示,博迅生物(836504)今日下上涨18.20%,换手率达43.9%,累计成交2.62亿元登上龙虎榜。

  根据龙虎榜交易数据显示,买一为国盛证券有限责任公司湖北分公司,买入617.43万元。买二为金元证券股份有限公司徐州北京南路营业部,买入536.23万元。卖出方面,卖一为华鑫证券有限责任公司西安科技路营业部,卖出2886.84万元。卖二为招商证券股份有限公司北京车公庄西路证券营业部,卖出1180.70万元。

  13456.png

  1.png

查股网为非盈利性网站 本页为转载如有版权问题请联系 767871486@qq.comQQ:767871486
Copyright 2007-2025
www.chaguwang.cn 查股网