来源 :犀牛之星2023-11-23
11月23日消息,据北交所公开信息显示,吉冈精密(836720)今日上涨18.49%,换手率为44.96%,累计成交2.04亿元登上龙虎榜。
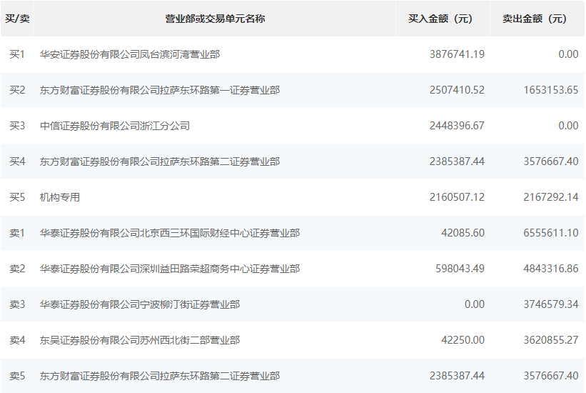
根据龙虎榜交易数据显示,买入方面,买一为华安证券股份有限公司凤台滨河湾营业部,买入387.67万元。买二为东方财富证券股份有限公司拉萨东环路第一证券营业部,买入250.74万元,卖出165.31万元。卖出方面,卖一为华泰证券股份有限公司北京西三环国际财经中心证券营业部,卖出655.56万元,买入4.2万元。卖二为华泰证券股份有限公司深圳益田路荣超商务中心证券营业部,卖出484.33万元,买入59.8万元。

