chaguwang.cn-查股网.中国
查股网.CN
派特尔(836871)内幕信息消息披露
 
沪深个股最新内幕信息查询:    
 

北交所龙虎榜|派特尔今日成交3785.71万元,换手率达32.87%

http://www.chaguwang.cn  2022-09-16  派特尔内幕信息

来源 :犀牛之星2022-09-16

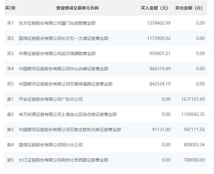
  犀牛之星讯,9月16日消息,据北交所公开信息显示,派特尔(836871)今日因收盘价涨幅达到24.73%,,换手率达32.87%,累计成交3785.71万元元登上龙虎榜。

  根据龙虎榜交易数据显示,买入方面,买一为东方证券股份有限公司厦门仙岳路营业部,买入135.84万元。买二为国信证券股份有限公司长沙五一大道证券营业部,买入117.29万元。卖出方面,卖一为平安证券股份有限公司广东分公司,卖出163.71万元。卖二为申万宏源证券有限公司上海金山区临仓街证券营业部,卖出110.97万元。

  7.jpg

有问题请联系 767871486@qq.com 商务合作广告联系 QQ:767871486
查股网以"免费 简单 客观 实用"为原则,致力于为广大股民提供最有价值和实用的股票数据作参考!
Copyright 2007-2022
www.chaguwang.cn 查股网