来源 :犀牛之星2024-11-21
11月21日消息,据北交所公开信息显示,汉维科技(836957)今日上涨29.99%,换手率为27.88%,累计成交2.19亿元登上龙虎榜。
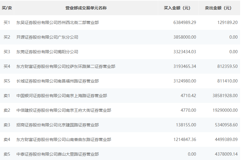
根据龙虎榜交易数据显示,买入方面,买一为东吴证券股份有限公司苏州西北街二部营业部,买入638.49万元,卖出12.91万元。买二为开源证券股份有限公司广东分公司,买入385.8万元。卖出方面,卖一为中国银河证券股份有限公司南京上海路证券营业部,卖出3858.19万元,买入4710元。卖二为中信建投证券股份有限公司南京王府大街证券营业部,卖出1929万元,买入4770元。

