来源 :犀牛之星2024-06-06
犀牛之星讯,6月6日消息,据北交所公开信息显示,亿能电力(837046)今日上涨3.39%,换手率为30.72%,累计成交1.32亿元登上龙虎榜。
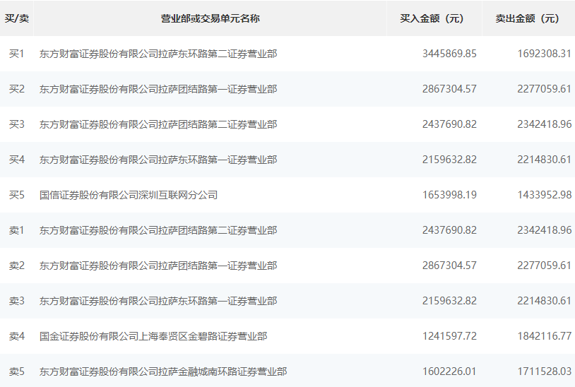
根据龙虎榜交易数据显示,买入方面,买一为东方财富证券股份有限公司拉萨东环路第二证券营业部,买入344.58万元,卖出169.23万元。买二为东方财富证券股份有限公司拉萨团结路第一证券营业部,买入286.73万元,卖出227.7万元。卖出方面,卖一为东方财富证券股份有限公司拉萨团结路第二证券营业部,卖出234.24万元,买入243.76万元。卖二为东方财富证券股份有限公司拉萨团结路第一证券营业部,卖出227.7万元,买入286.73万元。

