chaguwang.cn-查股网.中国
查股网.CN
明阳科技(837663)内幕信息消息披露
 
个股最新内幕信息查询:    
 

龙虎榜丨明阳科技今日跌16.17%,机构合计净卖出2191.25万元

http://www.chaguwang.cn  2024-02-07  明阳科技内幕信息

来源 :界面新闻2024-02-07

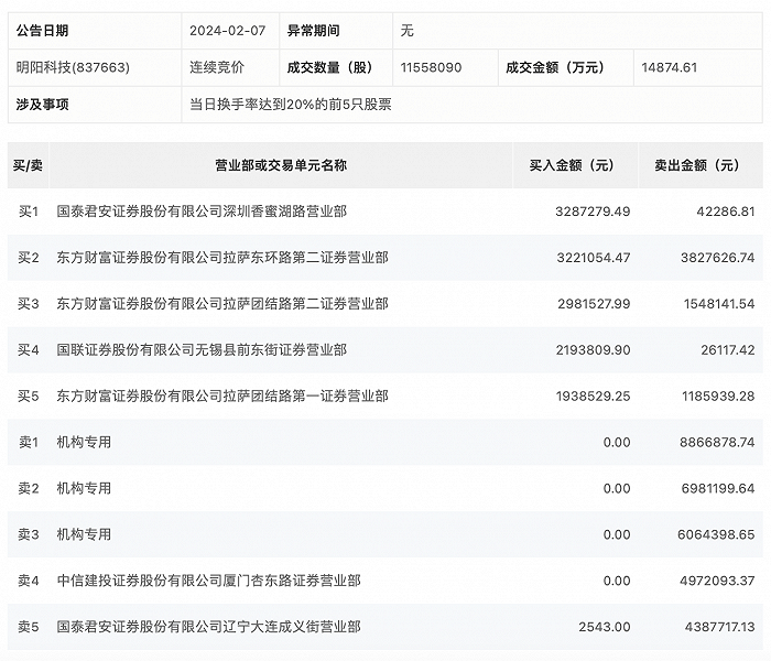
  2月7日,明阳科技今日跌16.17%,全天换手率达38.04%,振幅达11.8%。龙虎榜数据显示,营业部席位合计净卖出2427.77万元。其中,机构合计净卖出2191.25万元。此外,中信建投证券厦门杏东路证券营业部、国泰君安证券辽宁大连成义街营业部分别卖出497.21万元、438.77万元;国泰君安证券深圳香蜜湖路营业部、东方财富证券拉萨东环路第二证券营业部分别买入328.73万元、322.11万元。

   

有问题请联系 767871486@qq.com 商务合作广告联系 QQ:767871486
www.chaguwang.cn 查股网