来源 :犀牛之星2023-12-08
12月8日消息,据北交所公开信息显示,则成电子(837821)今日封涨停,换手率为44.67%,累计成交1.27亿元登上龙虎榜。
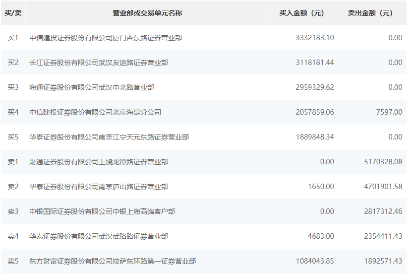
根据龙虎榜交易数据显示,买入方面,买一为中信建投证券股份有限公司厦门杏东路证券营业部,买入333.21万元。买二为长江证券股份有限公司武汉友谊路证券营业部,买入311.81万元。卖出方面,卖一为财通证券股份有限公司上饶龙潭路证券营业部,卖出517.03万元。卖二为华泰证券股份有限公司南京庐山路证券营业部,卖出470.19万元,买入1650元。

