来源 :犀牛之星2024-07-09
7月9日消息,据北交所公开信息显示,则成电子(837821)今日上涨29.94%,换手率为23.98%,累计成交2.18亿元登上龙虎榜。
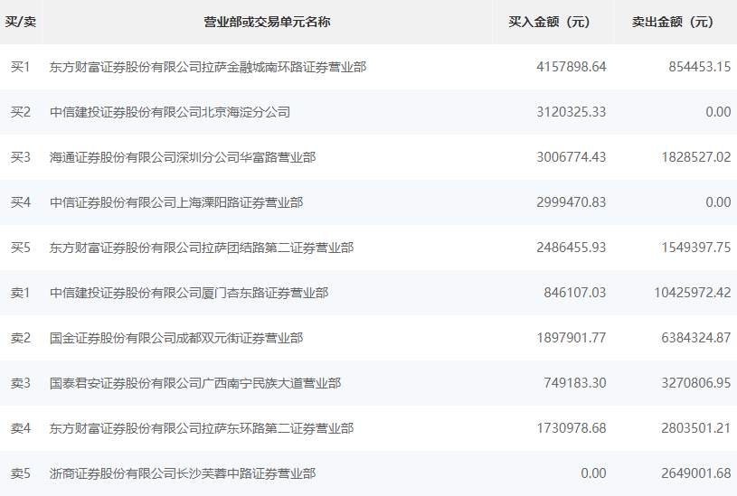
根据龙虎榜交易数据显示,买入方面,买一为东方财富证券股份有限公司拉萨金融城南环路证券营业部,买入415.78万元,卖出85.44万元。买二为中信建投证券股份有限公司北京海淀分公司,买入312.03万元。卖出方面,卖一为中信建投证券股份有限公司厦门杏东路证券营业部,卖出1042.59万元,买入84.61万元。卖二为国金证券股份有限公司成都双元街证券营业部,卖出638.43万元,买入189.79万元。

