来源 :犀牛之星2024-08-09
8月9日消息,据北交所公开信息显示,则成电子(837821)今日上涨18.19%,换手率为23.63%,累计成交2.8亿元登上龙虎榜。
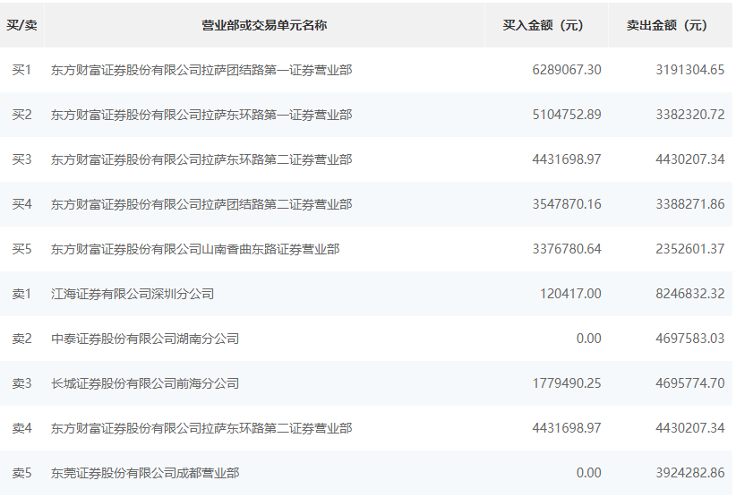
根据龙虎榜交易数据显示,买入方面,买一为东方财富证券股份有限公司拉萨团结路第一证券营业部,买入628.9万元,卖出319.13万元。买二为东方财富证券股份有限公司拉萨东环路第一证券营业部,买入510.47万元,卖出338.23万元。卖出方面,卖一为江海证券有限公司深圳分公司,卖出824.68万元,买入12.04万元。卖二为中泰证券股份有限公司湖南分公司,卖出469.75万元。

