chaguwang.cn-查股网.中国
查股网.CN
方大新材(838163)内幕信息消息披露
 
个股最新内幕信息查询:    
 

北交所龙虎榜|方大新材今日成交8.66亿元,换手率达22.79%

http://www.chaguwang.cn  2025-05-14  方大新材内幕信息

来源 :犀牛之星2025-05-14

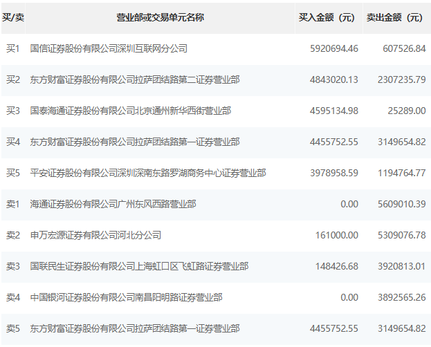
  5月14日消息,据北交所公开信息显示,方大新材(838163)今日上涨27.47%,换手率达22.79%,累计成交2.52亿元登上龙虎榜。

  根据龙虎榜交易数据显示,买一为国信证券股份有限公司深圳互联网分公司,买入592.07万元。买二为东方财富证券股份有限公司拉萨团结路第二证券营业部,买入484.30万元。卖出方面,卖一为海通证券股份有限公司广州东风西路营业部,卖出560.90万元。卖二为申万宏源证券有限公司河北分公司,卖出530.91万元。

  13456.png

  3.png

查股网为非盈利性网站 本页为转载如有版权问题请联系 767871486@qq.comQQ:767871486
Copyright 2007-2025
www.chaguwang.cn 查股网