来源 :犀牛之星2024-12-02
12月2日消息,据北交所公开信息显示,驱动力(838275)今日上涨29.98%,换手率为29.9%,累计成交2.8亿元登上龙虎榜。
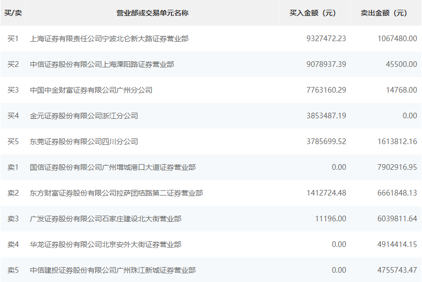
根据龙虎榜交易数据显示,买入方面,买一为上海证券有限责任公司宁波北仑新大路证券营业部,买入932.74万元,卖出106.74万元。买二为中信证券股份有限公司上海溧阳路证券营业部,买入907.89万元,卖出4.55万元。卖出方面,卖一为国信证券股份有限公司广州增城港口大道证券营业部,卖出790.29万元。卖二为东方财富证券股份有限公司拉萨团结路第二证券营业部,卖出666.18万元,买入141.27万元。

