chaguwang.cn-查股网.中国
查股网.CN
豪声电子(838701)内幕信息消息披露
 
个股最新内幕信息查询:    
 

北交所龙虎榜|豪声电子今日成交4276.98万元,换手率达22.55%

http://www.chaguwang.cn  2023-07-25  豪声电子内幕信息

来源 :犀牛之星2023-07-25

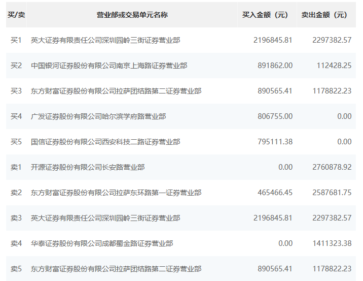
  7月25日消息,据北交所公开信息显示,豪声电子(838701)今日平盘,换手率为22.55%,累计成交4276.98万元登上龙虎榜。

  根据龙虎榜交易数据显示,买入方面,买一为英大证券有限责任公司深圳园岭三街证券营业部,买入219.68万元,卖出229.74万元。买二为中国银河证券股份有限公司南京上海路证券营业部,买入89.19万元,卖出11.24万元。卖出方面,卖一为开源证券股份有限公司长安路营业部,卖出276.09万元。卖二为东方财富证券股份有限公司拉萨东环路第一证券营业部,卖出258.77万元,买入46.55万元。

  1.png

有问题请联系 767871486@qq.com 商务合作广告联系 QQ:767871486
www.chaguwang.cn 查股网