来源 :犀牛之星2023-09-04
9月4日消息,据北交所公开信息显示,豪声电子(838701)今日上涨12.83%,换手率为29.06%,累计成交4222.19万元登上龙虎榜。
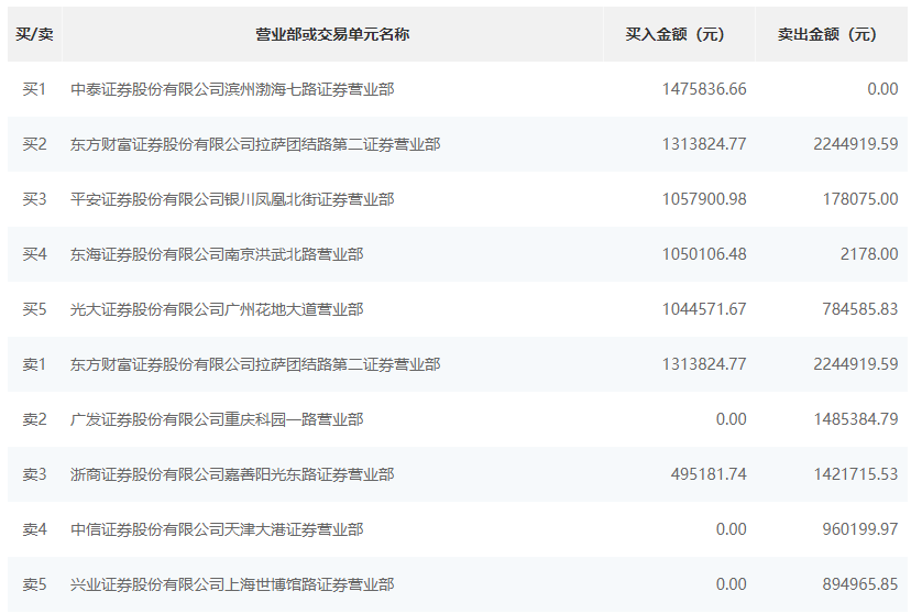
根据龙虎榜交易数据显示,买入方面,买一为中泰证券股份有限公司滨州渤海七路证券营业部,买入147.58万元。买二为东方财富证券股份有限公司拉萨团结路第二证券营业部,买入131.38万元,卖出224.49万元。卖出方面,卖一为东方财富证券股份有限公司拉萨团结路第二证券营业部,卖出224.49万元,买入131.38万元。卖二为广发证券股份有限公司重庆科园一路营业部,卖出148.53万元。

