来源 :犀牛之星2024-07-09
7月9日消息,据北交所公开信息显示,豪声电子(838701)今日上涨17.99%,换手率为35.08%,累计成交1.23亿元登上龙虎榜。
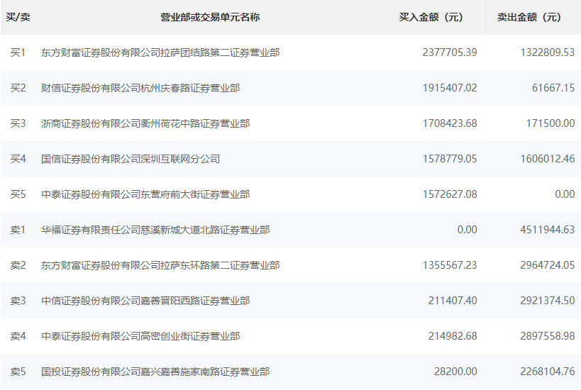
根据龙虎榜交易数据显示,买入方面,买一为东方财富证券股份有限公司拉萨团结路第二证券营业部,买入237.77万元,卖出132.28万元。买二为财信证券股份有限公司杭州庆春路证券营业部,买入191.54万元,卖出6.16万元。卖出方面,卖一为华福证券有限责任公司慈溪新城大道北路证券营业部,卖出451.19万元。卖二为东方财富证券股份有限公司拉萨东环路第二证券营业部,卖出296.47万元,买入135.55万元。

