来源 :犀牛之星2024-10-11
10月11日消息,据北交所公开信息显示,天马新材(838971)今日上涨29.93%,换手率为17.3%,累计成交1.89亿元登上龙虎榜。
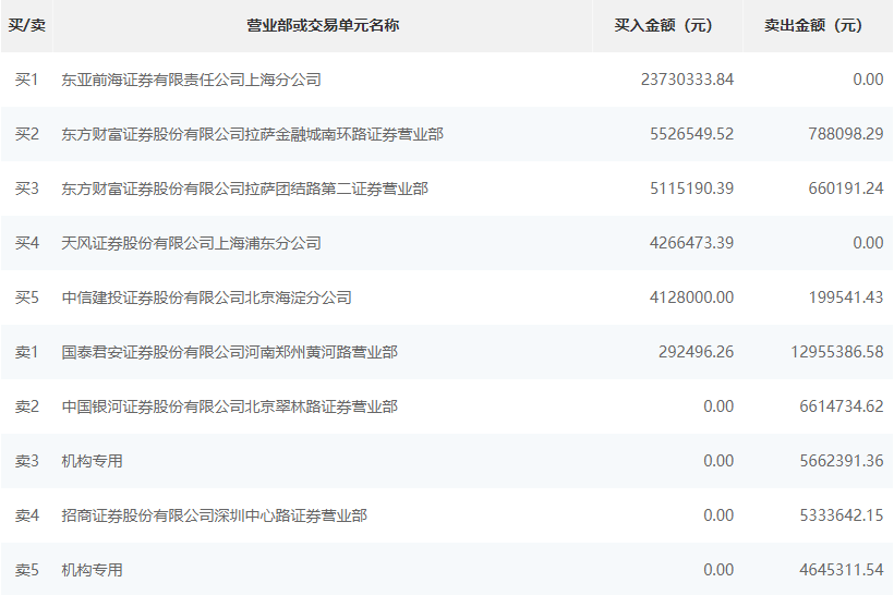
根据龙虎榜交易数据显示,买入方面,买一为东亚前海证券有限责任公司上海分公司,买入2373.03万元。买二为东方财富证券股份有限公司拉萨金融城南环路证券营业部,买入552.65万元,卖出78.8万元。卖出方面,卖一为国泰君安证券股份有限公司河南郑州黄河路营业部,卖出1295.53万元,买入29.24万元。卖二为中国银河证券股份有限公司北京翠林路证券营业部,卖出661.47万元。

