chaguwang.cn-查股网.中国
查股网.CN
雅葆轩(870357)内幕信息消息披露
 
个股最新内幕信息查询:    
 

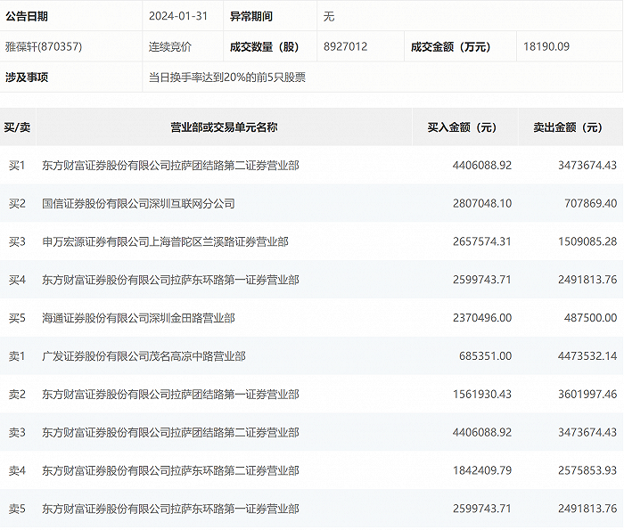
龙虎榜丨雅葆轩今日涨9.25%,营业部席位合计净卖出39.07万元

http://www.chaguwang.cn  2024-01-31  雅葆轩内幕信息

来源 :界面新闻2024-01-31

  1月31日,雅葆轩今日涨9.25%,全天换手率达38.48%,振幅达24.72%。龙虎榜数据显示,营业部席位合计净卖出39.07万元。其中,东方财富证券拉萨团结路第二证券营业部、国信证券深圳互联网分公司分别买入440.61万元、280.70万元;广发证券茂名高凉中路营业部、东方财富证券拉萨团结路第一证券营业部分别卖出447.35万元、360.20万元。

  

有问题请联系 767871486@qq.com 商务合作广告联系 QQ:767871486
www.chaguwang.cn 查股网