来源 :犀牛之星2023-08-09
8月9日消息,据北交所公开信息显示,鸿智科技(870726)今日上涨6.22%,换手率为41.15%,累计成交5383.59万元登上龙虎榜。
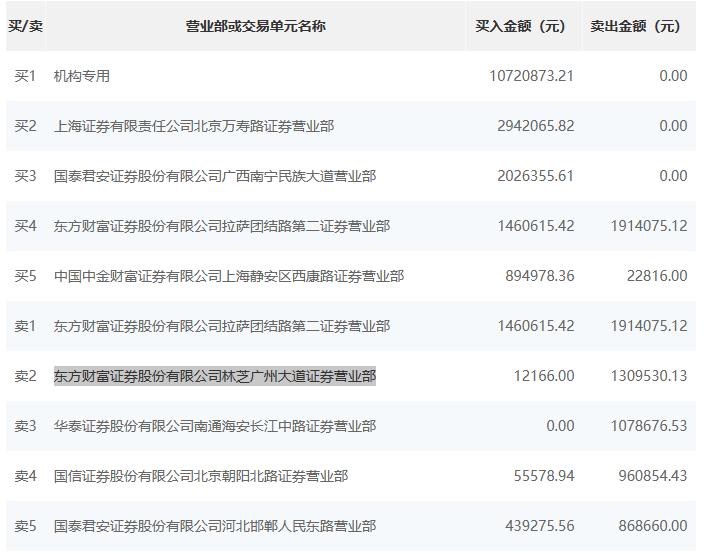
根据龙虎榜交易数据显示,买入方面,买一为机构专用,买入1072.09万元。买二为上海证券有限责任公司北京万寿路证券营业部,买入294.21万元。卖出方面,卖一为东方财富证券股份有限公司拉萨团结路第二证券营业部,卖出191.41万元,买入146.06万元。卖二为东方财富证券股份有限公司林芝广州大道证券营业部,卖出130.95万元,买入1.22万元。
