来源 :犀牛之星2024-01-02
1月2日消息,据北交所公开信息显示,常辅股份(871396)今日封涨停,换手率为15.43%,累计成交1.08亿元登上龙虎榜。
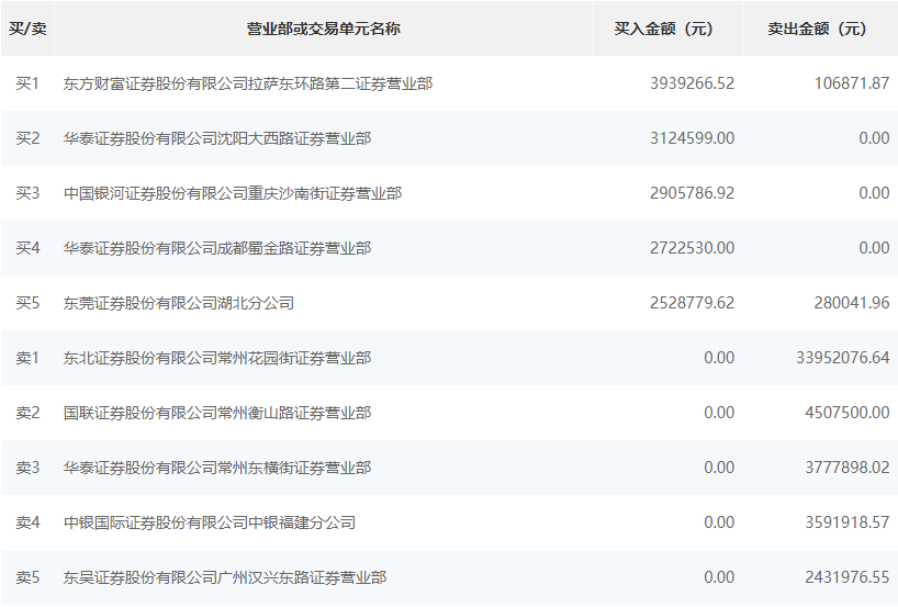
根据龙虎榜交易数据显示,买入方面,买一为东方财富证券股份有限公司拉萨东环路第二证券营业部,买入393.92万元,卖出10.68万元。买二为华泰证券股份有限公司沈阳大西路证券营业部,买入312.45万元。卖出方面,卖一为东北证券股份有限公司常州花园街证券营业部,卖出3395.2万元。卖二为国联证券股份有限公司常州衡山路证券营业部,卖出450.75万元。

