chaguwang.cn-查股网.中国
查股网.CN
巨能股份(871478)内幕信息消息披露
 
个股最新内幕信息查询:    
 

北交所龙虎榜|巨能股份今日成交1.3亿元,换手率达25.17%

http://www.chaguwang.cn  2023-07-03  巨能股份内幕信息

来源 :犀牛之星2023-07-03

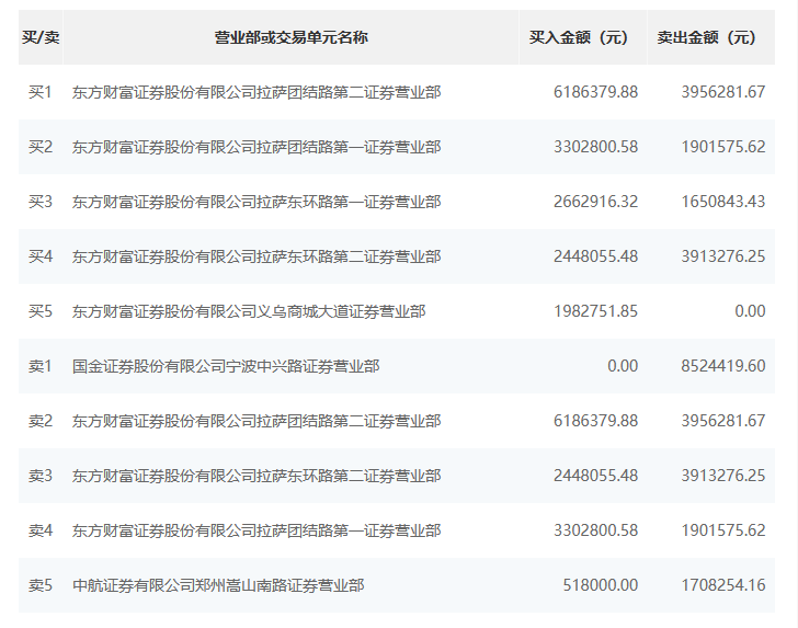
  7月3日消息,据北交所公开信息显示,巨能股份(871478)今日上涨7.06%,换手率为25.17%,累计成交1.3亿元登上龙虎榜。

  根据龙虎榜交易数据显示,买入方面,买一为东方财富证券股份有限公司拉萨团结路第二证券营业部,买入618.64万元,卖出395.63万元。买二为东方财富证券股份有限公司拉萨团结路第一证券营业部,买入330.28万元,卖出190.16万元。卖出方面,卖一为国金证券股份有限公司宁波中兴路证券营业部,卖出852.44万元。卖二为东方财富证券股份有限公司拉萨团结路第二证券营业部,卖出395.63万元,买入618.64万元。

  3.png

有问题请联系 767871486@qq.com 商务合作广告联系 QQ:767871486
www.chaguwang.cn 查股网