chaguwang.cn-查股网.中国
查股网.CN
巨能股份(871478)内幕信息消息披露
 
个股最新内幕信息查询:    
 

北交所龙虎榜|巨能股份今日成交1.29亿元,换手率达22.85%

http://www.chaguwang.cn  2023-07-07  巨能股份内幕信息

来源 :犀牛之星2023-07-07

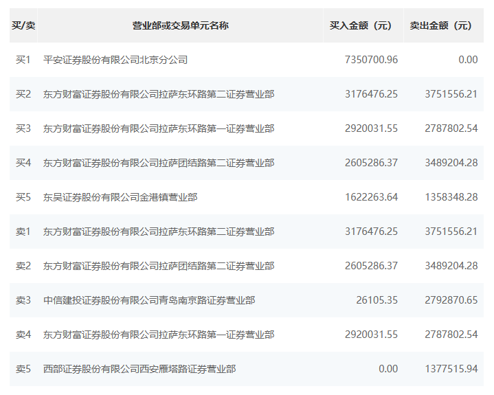
  7月7日消息,据北交所公开信息显示,巨能股份(871478)今日下跌10.4%,换手率为22.85%,累计成交1.29亿元登上龙虎榜。

  根据龙虎榜交易数据显示,买入方面,买一为平安证券股份有限公司北京分公司,买入735.07万元。买二为东方财富证券股份有限公司拉萨东环路第二证券营业部,买入317.65万元,卖出375.16万元。卖出方面,卖一为东方财富证券股份有限公司拉萨东环路第二证券营业部,卖出375.16万元,买入317.65万元。卖二为东方财富证券股份有限公司拉萨团结路第二证券营业部,卖出348.92万元,买入260.53万元。

  2.png

有问题请联系 767871486@qq.com 商务合作广告联系 QQ:767871486
www.chaguwang.cn 查股网