chaguwang.cn-查股网.中国
查股网.CN
巨能股份(871478)内幕信息消息披露
 
个股最新内幕信息查询:    
 

巨能股份今日成交9350.80万元,换手率达20.27%

http://www.chaguwang.cn  2023-07-13  巨能股份内幕信息

来源 :犀牛之星2023-07-13

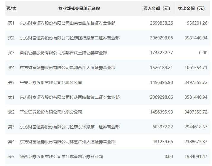
  犀牛之星讯,7月13日消息,据北交所公开信息显示,巨能股份(871478)今日上涨0.34%,换手率为20.27%,累计成交9350.80万元登上龙虎榜。

  根据龙虎榜交易数据显示,买入方面,买一为东方财富证券股份有限公司山南香曲东路证券营业部,买入269.98万元,卖出95.62万元。买二为东方财富证券股份有限公司拉萨团结路第二证券营业部,买入206.93万元,卖出358.14万元。卖出方面,卖一为东方财富证券股份有限公司拉萨团结路第二证券营业部,卖出358.14万元,买入206.93万元。卖二为平安证券股份有限公司北京分公司,卖出349.74万元,买入145.64万元。

  4.png

有问题请联系 767871486@qq.com 商务合作广告联系 QQ:767871486
www.chaguwang.cn 查股网