chaguwang.cn-查股网.中国
查股网.CN
晶赛科技(871981)内幕信息消息披露
 
个股最新内幕信息查询:    
 

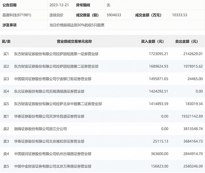
龙虎榜丨晶赛科技今日跌17.52%,营业部席位合计净卖出2827.97万元

http://www.chaguwang.cn  2023-12-21  晶赛科技内幕信息

来源 :界面新闻2023-12-21

  12月21日,晶赛科技今日跌17.52%,全天换手率达15.9%,振幅达30.75%。龙虎榜数据显示,营业部席位合计净卖出2827.97万元。其中,华泰证券天津华昌道证券营业部、渤海证券浙江分公司分别卖出1932.11万元、381.35万元;东方财富证券拉萨团结路第一证券营业部、东方财富证券拉萨团结路第二证券营业部分别买入172.31万元、168.96万元。

  

有问题请联系 767871486@qq.com 商务合作广告联系 QQ:767871486
www.chaguwang.cn 查股网