来源 :犀牛之星2025-08-18
8月18日消息,据北交所公开信息显示,晶赛科技(871981)今日上涨29.98%,换手率达25.42%,累计成交4.15亿元登上龙虎榜。
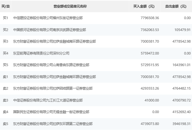
根据龙虎榜交易数据显示,买一为中信建投证券股份有限公司福州东街证券营业部,买入779.65万元。买二为中国银河证券股份有限公司南京洪武路证券营业部,买入736.21万元。卖出方面,卖一为东方财富证券股份有限公司拉萨金融城南环路证券营业部,卖出477.85万元。卖二为东方财富证券股份有限公司拉萨团结路第一证券营业部,卖出476.45万元。

