来源 :犀牛之星2024-05-31
5月31日消息,据北交所公开信息显示,雷神科技(872190)今日上涨11.22%,换手率为24.24%,累计成交2.37亿元登上龙虎榜。
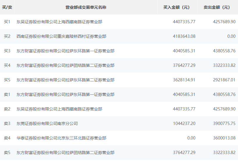
根据龙虎榜交易数据显示,买入方面,买一为东吴证券股份有限公司上海西藏南路证券营业部,买入440.73万元,卖出425.76万元。买二为西南证券股份有限公司重庆嘉陵桥西村证券营业部,买入418.36万元。卖出方面,卖一为东方财富证券股份有限公司拉萨东环路第一证券营业部,卖出404.05万元,买入438.05万元。卖二为东吴证券股份有限公司上海西藏南路证券营业部,卖出440.73万元,买入425.76万元。

