来源 :犀牛之星2023-08-28
8月28日消息,据北交所公开信息显示,曙光数创(872808)今日下跌8.64%,换手率为11.66%,价格振幅达33.02%,累计成交29989.09万元登上龙虎榜。
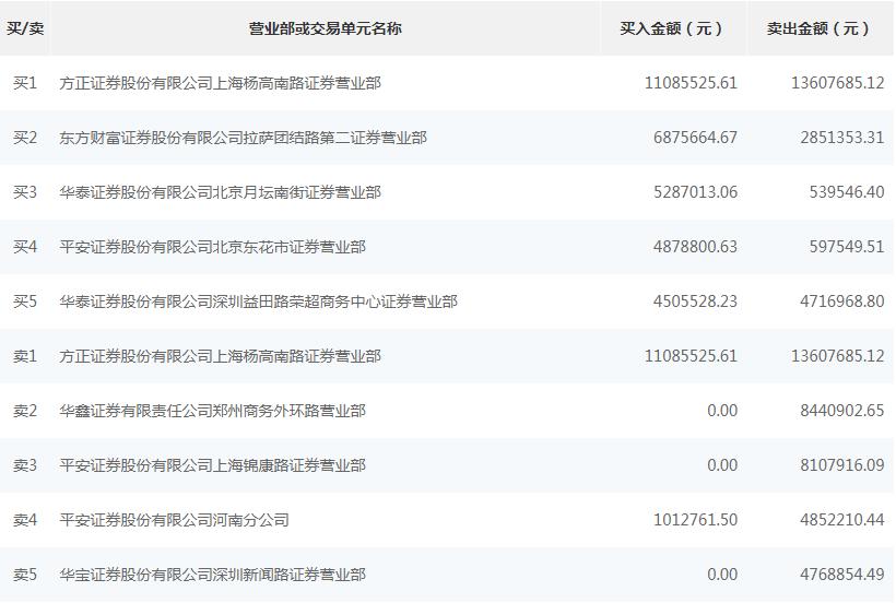
根据龙虎榜交易数据显示,买入方面,买一为方正证券股份有限公司上海杨高南路证券营业部,买入1108.55万元,卖出1360.77万元,净卖出252.22万元。买二为东方财富证券股份有限公司拉萨团结路第二证券营业部,买入687.57万元,卖出285.14万元,净买入402.43万元。卖出方面,卖一为方正证券股份有限公司上海杨高南路证券营业部,卖出1360.77万元,买入1108.55万元,净卖出252.22万元。卖二为华鑫证券有限责任公司郑州商务外环路营业部,净卖出844.09万元。
